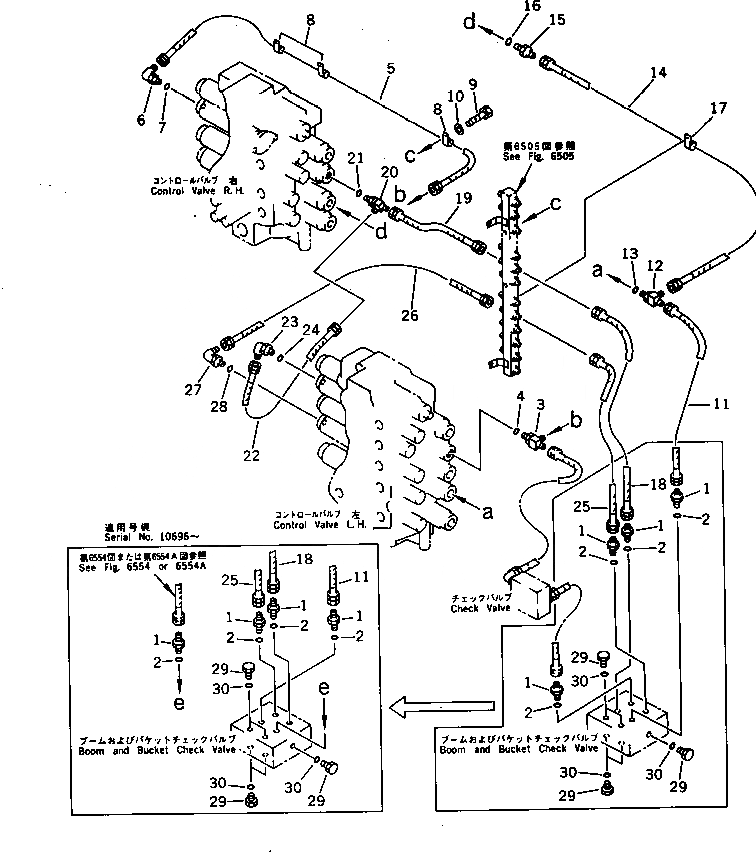
Запчасти Komatsu PC650-3 СТРЕЛА И КОВШ КОНТРОЛЬНЫЙ КЛАПАНTO/FROM КОНТРОЛЬНЫЙ КЛАПАНТРУБЫ (F/ПОГРУЗ.)(С -POSITION АВТОМАТИЧ. COMPENSATION)(№-8) УПРАВЛ-Е РАБОЧИМ ОБОРУДОВАНИЕМ

Схема запчастей Komatsu PC650-3 - СТРЕЛА И КОВШ КОНТРОЛЬНЫЙ КЛАПАНTO/FROM КОНТРОЛЬНЫЙ КЛАПАНТРУБЫ (F/ПОГРУЗ.)(С -POSITION АВТОМАТИЧ. COMPENSATION)(№-8) УПРАВЛ-Е РАБОЧИМ ОБОРУДОВАНИЕМ
FIT
1:1
100%

Артикул

Название

Примечание

Количество

1

07230-10315

UNION

2

07002-02034

O-RING

3

209-62-57210

TEE

4

07002-02034

O-RING

5

07102-20318

HOSE

6

07235-10315

ELBOW

7

07002-02034

O-RING

8

08036-01814

CLIP

9

01010-51220

BOLT

10

01643-31232

WASHER

11

07102-20310

HOSE

12

209-62-57210

TEE

13

07002-02034

O-RING

14

07102-20313

HOSE

15

07230-10315

UNION

16

07002-02034

O-RING

17

08036-01814

CLIP

18

07102-20312

HOSE

19

07102-20305

HOSE

20

209-62-57210

TEE

21

07002-02034

O-RING

22

07102-20304

HOSE

23

07235-10315

ELBOW

24

07002-02034

O-RING

25

07102-20310

HOSE

26

07102-20308

HOSE

27

07235-10315

ELBOW

28

07002-02034

O-RING

29

07040-12012

PLUG

30

07002-02034

O-RING

Выбрано товаров: 30