Запчасти Komatsu PC650-3 ФИЛЬТР. ДРЕНАЖН. ТРУБЫ УПРАВЛ-Е РАБОЧИМ ОБОРУДОВАНИЕМ

Схема запчастей Komatsu PC650-3 - ФИЛЬТР. ДРЕНАЖН. ТРУБЫ УПРАВЛ-Е РАБОЧИМ ОБОРУДОВАНИЕМ
FIT
1:1
100%

Артикул

Название

Примечание

Количество

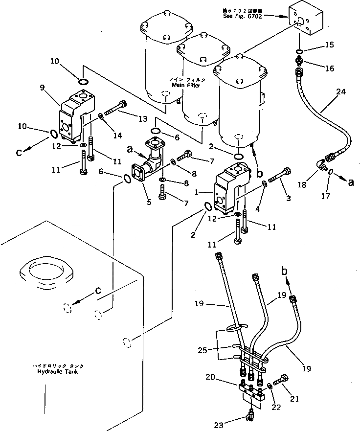
1

209-60-52301

VALVE ASS'Y

2

07000-02065

O-RING

3

01011-51215

BOLT

4

01643-31232

WASHER

5

209-62-56121

TUBE

5

209-62-56120

TUBE

6

07000-02065

O-RING

7

01010-51240

BOLT

8

01643-31232

WASHER

9

209-60-52800

VALVE ASS'Y

10

07000-02065

O-RING

11

01253-41200

BOLT

12

01643-31232

WASHER

13

01253-41215

BOLT

14

01643-31232

WASHER

15

07002-01423

O-RING

16

07230-10210

UNION

17

07002-01423

O-RING

18

07235-10210

ELBOW

19

07102-20210

HOSE

20

209-62-56191

BLOCK

21

01010-51245

BOLT

22

01643-31232

WASHER

23

07730-40004

VALVE

23

07730-20004

VALVE

24

07102-20204

HOSE

25

08034-00536

BAND

Выбрано товаров: 27