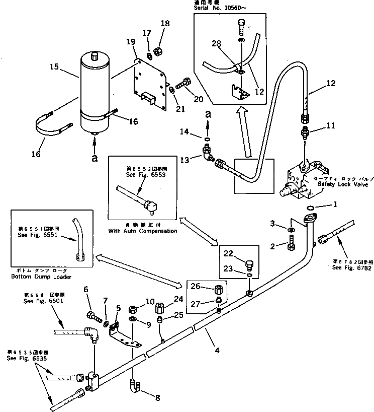
Запчасти Komatsu PC650-3 БЕЗОПАСН. БЛОКИР. VAVLE - АККУМУЛЯТОР ТРУБЫ (ДЛЯ ПОГРУЗ.) УПРАВЛ-Е РАБОЧИМ ОБОРУДОВАНИЕМ

Схема запчастей Komatsu PC650-3 - БЕЗОПАСН. БЛОКИР. VAVLE - АККУМУЛЯТОР ТРУБЫ (ДЛЯ ПОГРУЗ.) УПРАВЛ-Е РАБОЧИМ ОБОРУДОВАНИЕМ
FIT
1:1
100%

Артикул

Название

Примечание

Количество

1

07000-03035

O-RING

2

01010-51030

BOLT

3

01643-31032

WASHER

4

209-62-57441

TUBE

5

209-62-57150

BRACKET

6

01010-51250

BOLT

6

01010-51245

BOLT

7

01643-31232

WASHER

8

07283-23442

CLIP

9

01643-31032

WASHER

10

01599-01011

NUT

11

566-35-14370

UNION

12

07103-20310

HOSE

13

07235-10315

ELBOW

14

07002-02034

O-RING

15

209-60-12820

ACCUMULATOR ASS'Y

16

209-62-27780

BAND

17

01643-31232

WASHER

18

01599-01214

NUT

19

209-62-57760

BRACKET

20

01010-51225

BOLT

21

01643-31232

WASHER

22

07040-12414

PLUG

23

07002-02434

O-RING

24

07221-20210

NUT

25

07222-00210

PLUG

26

07221-20315

NUT

27

07222-00312

PLUG

28

08036-01814

CLIP

Выбрано товаров: 29