Запчасти Komatsu PC650-3 ЦИЛИНДР СТРЕЛЫТРУБЫ (ДЛЯ ЦИЛИНДР СТОПОРН. КЛАПАН) (/) РАБОЧЕЕ ОБОРУДОВАНИЕ (ЭКСКАВАТ.)

Схема запчастей Komatsu PC650-3 - ЦИЛИНДР СТРЕЛЫТРУБЫ (ДЛЯ ЦИЛИНДР СТОПОРН. КЛАПАН) (/) РАБОЧЕЕ ОБОРУДОВАНИЕ (ЭКСКАВАТ.)
FIT
1:1
100%

Артикул

Название

Примечание

Количество

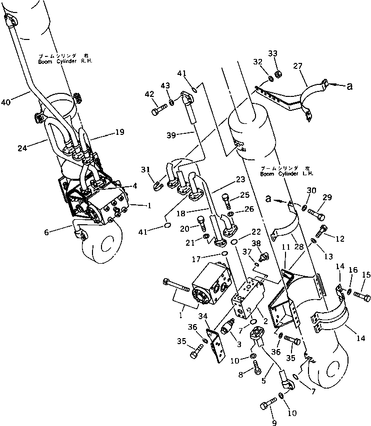
G-1

209-62-X1500

LOCK VALVE GROUP

1

209-60-52210

VALVE

2

209-62-58570

BLOCK,L.H.

3

709-90-63100

VALVE ASS'Y

4

209-62-58580

BLOCK,R.H.

5

209-62-58671

TUBE,L.H.

6

209-62-58681

TUBE,R.H.

7

07000-13038

O-RING

8

01010-51245

BOLT

9

01010-51240

BOLT

10

01643-31232

WASHER

11

209-62-58620

BAND

12

01010-51435

BOLT

13

01643-31445

WASHER

14

707-88-96110

BAND

15

01010-51240

BOLT

16

01643-31232

WASHER

17

07000-13035

O-RING

18

209-62-58721

TUBE,L.H.

19

209-62-58731

TUBE,R.H.

20

01010-51035

BOLT

21

01643-31032

WASHER

22

07000-13038

O-RING

23

209-62-58691

TUBE,L.H.

24

209-62-58711

TUBE,R.H.

25

01010-51245

BOLT

26

01643-31232

WASHER

27

209-62-58650

BAND

28

707-88-96110

BAND

29

01010-51240

BOLT

30

01643-31232

WASHER

31

07283-23442

CLIP

32

01643-31032

WASHER

33

01599-01011

NUT

34

209-62-58641

BRACKET

35

01010-51435

BOLT

36

01643-31445

WASHER

37

07002-12034

O-RING

38

07235-10315

ELBOW

39

209-62-59170

TUBE,L.H.

40

209-62-59180

TUBE,R.H.

41

07000-13038

O-RING

42

01010-51240

BOLT

43

01643-31232

WASHER

Выбрано товаров: 44