Запчасти Komatsu PC650-3 КОВШ¤ .8M¤ ШИР. 8MM(№-89) РАБОЧЕЕ ОБОРУДОВАНИЕ (ЭКСКАВАТ.)

Схема запчастей Komatsu PC650-3 - КОВШ¤ .8M¤ ШИР. 8MM(№-89) РАБОЧЕЕ ОБОРУДОВАНИЕ (ЭКСКАВАТ.)
FIT
1:1
100%

Артикул

Название

Примечание

Количество

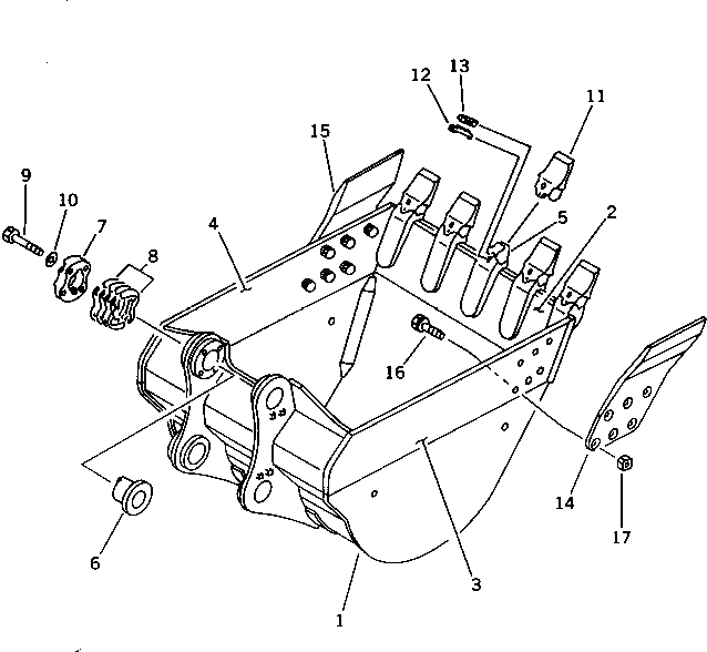
G-1

209-920-X210

BUCKET GROUP

1

209-920-5210

BUCKET

2

209-920-5310

PLATE (WELDED)

3

209-70-54120

PLATE (WELDED)

4

209-70-54130

PLATE (WELDED)

5

209-944-1220

ADAPTER (WELDED)

6

209-70-54160

BUSHING

7

209-70-54170

COVER

8

209-70-00081

SHIM ASS'Y

8

209-70-00080

SHIM ASS'Y

8

SHIM, 0.5MM

8

SHIM, 1.0MM

8

SHIM, 1.0MM

9

01010-83080

BOLT

10

01643-33080

WASHER

11

209-72-14150

POINT

12

209-72-14160

PIN

13

209-72-14170

LOCK

G-2

209-70-X4200

SIDE CUTTER GROUP

14

209-70-14180

CUTTER

15

209-70-14190

CUTTER

16

209-70-14210

BOLT

17

21T-32-11320

NUT

Выбрано товаров: 23