Запчасти Komatsu PC650-3 ЭЛЕКТРИКА (СТРЕЛА POTENTIO METER) РАБОЧЕЕ ОБОРУДОВАНИЕ (ПОГРУЗ.)

Схема запчастей Komatsu PC650-3 - ЭЛЕКТРИКА (СТРЕЛА POTENTIO METER) РАБОЧЕЕ ОБОРУДОВАНИЕ (ПОГРУЗ.)
FIT
1:1
100%

Артикул

Название

Примечание

Количество

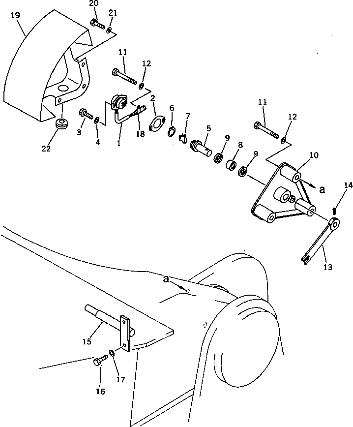
G-1

209-06-X3000

AUTO COMPENSATION G.,(FOR 2-POSITION)

1

7861-91-4110

POTENTIOMETER

2

142-06-14510

GASKET

3

01435-20610

BOLT

4

01642-20608

WASHER

5

6136-71-9730

SHAFT

6

04064-01610

RING,SNAP

7

142-43-13180

SPRING

8

702-16-11490

BEARING

9

702-16-11510

SEAL,OIL

10

209-06-51381

BRACKET

11

01011-51025

BOLT

12

01643-31232

WASHER

13

21N-06-11140

LEVER

14

04025-00432

PIN,SPRING

15

21N-06-11150

SHAFT

16

01010-51230

BOLT

17

01643-31232

WASHER

18

08036-01814

CLIP

19

209-06-51371

BRACKET

20

01010-51225

BOLT

21

01643-31232

WASHER

22

08037-02512

GROMMET

Выбрано товаров: 23