Запчасти Komatsu PC650-3 КОВШ¤ .8M (ДЛЯ НИЖН. ПОГРУЗ.) РАБОЧЕЕ ОБОРУДОВАНИЕ (ПОГРУЗ.)

Схема запчастей Komatsu PC650-3 - КОВШ¤ .8M (ДЛЯ НИЖН. ПОГРУЗ.) РАБОЧЕЕ ОБОРУДОВАНИЕ (ПОГРУЗ.)
FIT
1:1
100%

Артикул

Название

Примечание

Количество

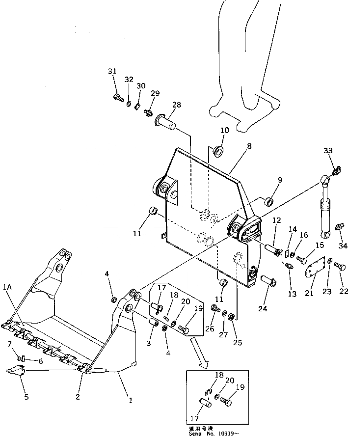
G-1

209-72-X4000

BUCKET GROUP

1

209-72-54122

BUCKET,FRONT

1

209-72-54121

BUCKET,FRONT

1A

209-72-54131

PLATE (WELDED)

2

209-72-54420

ADAPTER (WELDED)

3

209-72-14310

BUSHING

4

209-72-14320

SEAL

5

209-72-14150

POINT

6

209-72-14160

PIN

7

209-72-14170

LOCK

8

209-72-54112

BUCKET,REAR

8

209-72-54111

BUCKET,REAR

9

209-72-54181

BUSHING

10

209-72-54191

BUSHING

11

209-72-54221

BUSHING

12

209-72-54230

PIN

13

07020-00000

FITTING,GREASE

14

209-72-54390

PLATE

15

01010-51230

BOLT

16

01643-31232

WASHER

17

209-72-54261

PIN

17

209-72-54260

PIN

18

209-72-14260

LOCK

18

209-72-54360

LOCK

19

01010-52045

BOLT

19

01010-51250

BOLT

20

01643-32060

WASHER

20

01643-31232

WASHER

21

209-72-54320

COVER

22

01010-51030

BOLT

23

01643-31032

WASHER

24

209-72-54240

PIN

25

209-72-54250

HOLDER

26

01010-51235

BOLT

27

01643-31232

WASHER

28

209-72-54171

PIN

29

07020-00000

FITTING,GREASE

30

207-70-11230

PLATE

31

01010-51640

BOLT

32

01643-31645

WASHER

33

07020-00675

FITTING,GREASE

34

07020-00000

FITTING,GREASE

Выбрано товаров: 42