Запчасти Komatsu PC650-3 МЕХ-М ОТБОРА МОЩНОСТИ (/)(№8-8) ПОВОРОТН. СИСТЕМА

Схема запчастей Komatsu PC650-3 - МЕХ-М ОТБОРА МОЩНОСТИ (/)(№8-8) ПОВОРОТН. СИСТЕМА
FIT
1:1
100%

Артикул

Название

Примечание

Количество

|$0

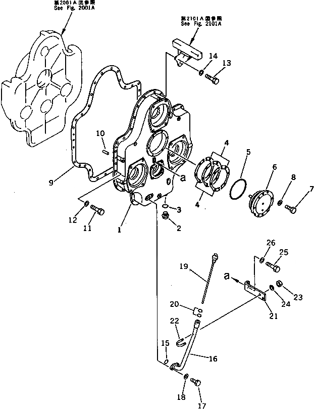
209-38-00020

P.T.O. ASS'Y

1

209-38-51122

CASE

2

07044-12412

PLUG

3

07002-32434

O-RING

4

209-38-00011

SHIM ASS'Y

4

SHIM, 0.1MM

4

SHIM, 0.2MM

4

SHIM, 0.5MM

5

07000-35200

O-RING

6

209-38-11170

COVER

7

01010-51235

BOLT

8

01643-31232

WASHER

9

209-38-51130

GASKET

10

04020-01638

PIN

11

01010-51240

BOLT

12

01643-31232

WASHER

13

01010-51255

BOLT

14

01643-31232

WASHER

15

07000-33028

O-RING

16

209-38-51231

TUBE

17

01010-51040

BOLT

18

01643-31032

WASHER

19

209-38-51240

GAUGE

20

07000-33022

O-RING

21

209-38-51250

BRACKET

22

07283-22738

CLIP

23

01599-01011

NUT

24

01643-31032

WASHER

25

01010-51025

BOLT

26

01643-31032

WASHER

Выбрано товаров: 30