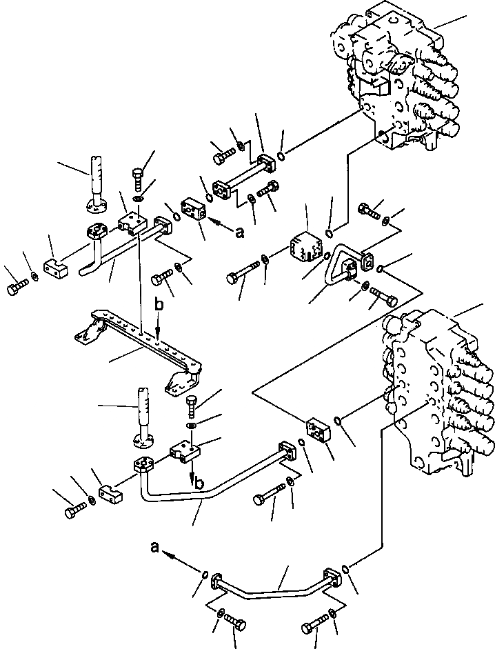
Запчасти Komatsu PC650-5 & PC650LC-5 КЛАПАН ПОДАЮЩ. ТРУБЫ РУКОЯТЬ - КЛАПАН ГИДРАВЛИКА

Схема запчастей Komatsu PC650-5 & PC650LC-5 - КЛАПАН ПОДАЮЩ. ТРУБЫ РУКОЯТЬ - КЛАПАН ГИДРАВЛИКА
39
23
21
23
24
22
31
38
24
32
30
15
17
29
41
19
22
33
35
25
20
34
20
26
28
14
40
13
19
16
18
37
31
36
32
30
9
33
8
35
9
34
12
11
10
1
4
7
6
3
2
5
27
FIT
1:1
100%

Артикул

Название

Примечание

Количество

1

209-62-52170

TUBE

2

01010-31455

BOLT

3

01643-31445

WASHER

4

21T-09-11510

O-RING

5

01010-31040

BOLT

6

01643-51032

WASHER

7

21T-09-11470

O-RING

8

209-62-52130

TEE

9

21T-09-11510

O-RING

10

209-62-52320

TUBE

11

01011-51405

BOLT

12

01643-31445

WASHER

13

01011-31435

BOLT

14

01643-31445

WASHER

15

21T-09-11510

O-RING

16

209-62-52162

TUBE

17

01010-31040

BOLT

18

01010-31060

BOLT

19

01643-51032

WASHER

20

21T-09-11470

O-RING

21

209-62-52190

TUBE

22

01010-31455

BOLT

23

01643-31445

WASHER

24

21T-09-11510

O-RING

25

209-62-52140

TEE

26

209-62-52351

TUBE

27

01010-31455

BOLT

28

01643-31445

WASHER

29

21T-09-11510

O-RING

30

209-62-52440

CLAMP

31

01010-51250

BOLT

32

175-54-34170

WASHER

33

176-61-41330

CLAMP

34

01010-51250

BOLT

35

01643-31232

WASHER

Выбрано товаров: 35