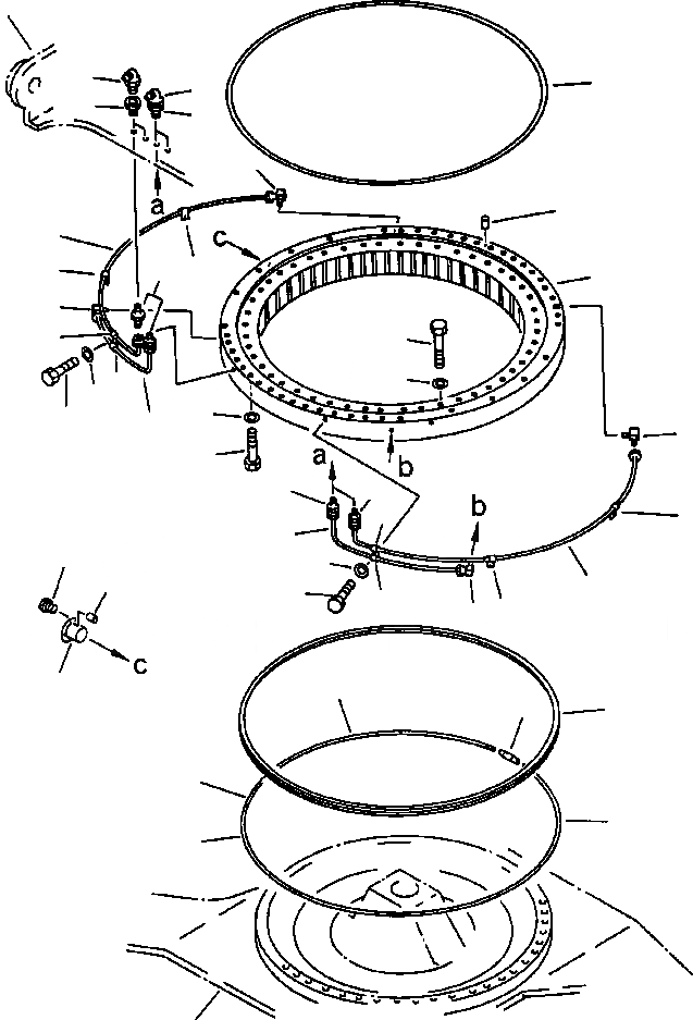
Запчасти Komatsu PC650-5 & PC650LC-5 ПОВОРОТН. КРУГ ПОВОРОТН. КРУГ И КОМПОНЕНТЫ

Схема запчастей Komatsu PC650-5 & PC650LC-5 - ПОВОРОТН. КРУГ ПОВОРОТН. КРУГ И КОМПОНЕНТЫ
26
7
21
7
8
8
5
16
2
6
9
9
17
5
9
14
15
9
11
13
10
4
5
12
6
6
9
9
3
20
11
19
1
10
9
9
5
18
23
24
22
24
23
23
24
25
FIT
1:1
100%

Артикул

Название

Примечание

Количество

1

209-25-31110

TUBE, L.H

2

209-25-31120

TUBE, R.H

3

209-25-31130

TUBE, L.H

4

209-25-31140

TUBE, R.H

5

207-70-11740

ELBOW

6

07213-50813

NIPPLE

7

07020-00900

FITTING

8

07326-10201

ADAPTER

9

08036-10814

CLIP

10

01010-31220

BOLT

11

01643-31232

WASHER

12

209-09-11220

BOLT

13

01643-33080

WASHER

14

209-09-11211

BOLT

15

01643-33080

WASHER

16

170-27-12250

PIN, DOWEL

17

209-25-61100

CIRCLE, SWING

18

209-25-61210

PLUG

19

209-25-61220

PIN

20

07049-01012

PLUG

21

209-25-61160

SEAL

22

209-25-61170

SEAL

23

209-25-61180

WIRE

24

209-25-61190

JOINT

Выбрано товаров: 24