Качественные детали и логистика
Оригинальные и аналоговые запчасти с доставкой по России, Казахстану и Беларуси
©2022 PartSell ООО "Система" ИНН 2463123282 ОГРН 1212400004838
Центральный офис: г. Красноярск, Академика Киренского, д.87, пом.4
Телефон: 8 (800) 777-65-74 Email: zakaz@partsell.ru
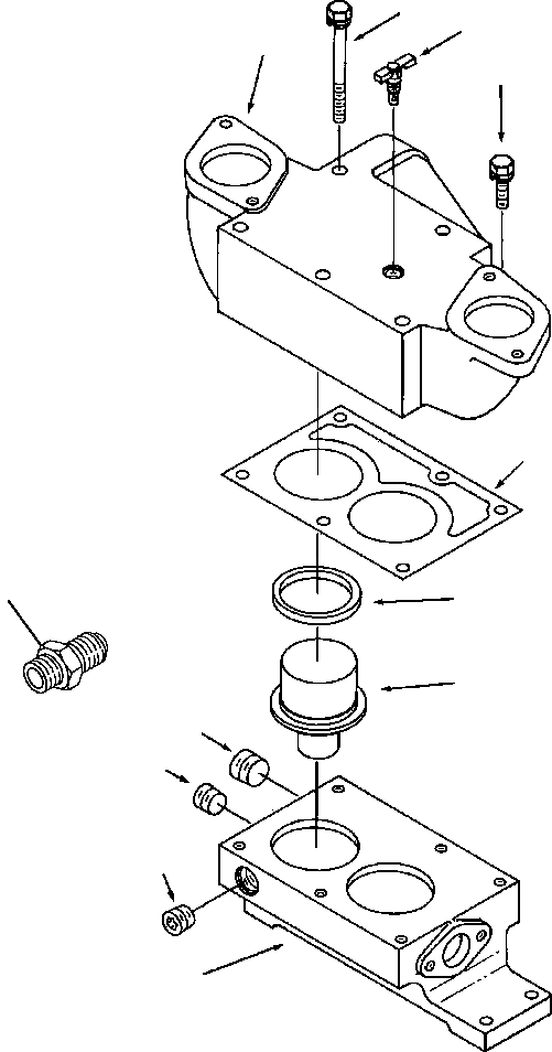
ТЕРМОСТАТ
№
Артикул
Название
Примечание
Количество
1
1238 131 H1
DRAINCOCK
2
1238 500 H1
SEAL, THERMOSTAT
3
1238 601 H1
THERMOSTAT
4
1239 159 H1
PLUG, PIPE
5
1239 160 H1
6
140 483 H
BOLT, W/WASHER - 3/8-16 X 1 1/4
7
1239 213 H1
BOLT, W/WASHER - 3/8-16 X 3 3/4
8
1241 324 H1
SUPPORT, THERMOSTAT HOUSING
9
1239 224 H1
GASKET, THERMOSTAT HOUSING
10
1239 229 H1
HOUSING, THERMOSTAT
11
1238 310 H1
CONNECTION, VENT
Выбрано товаров: 0