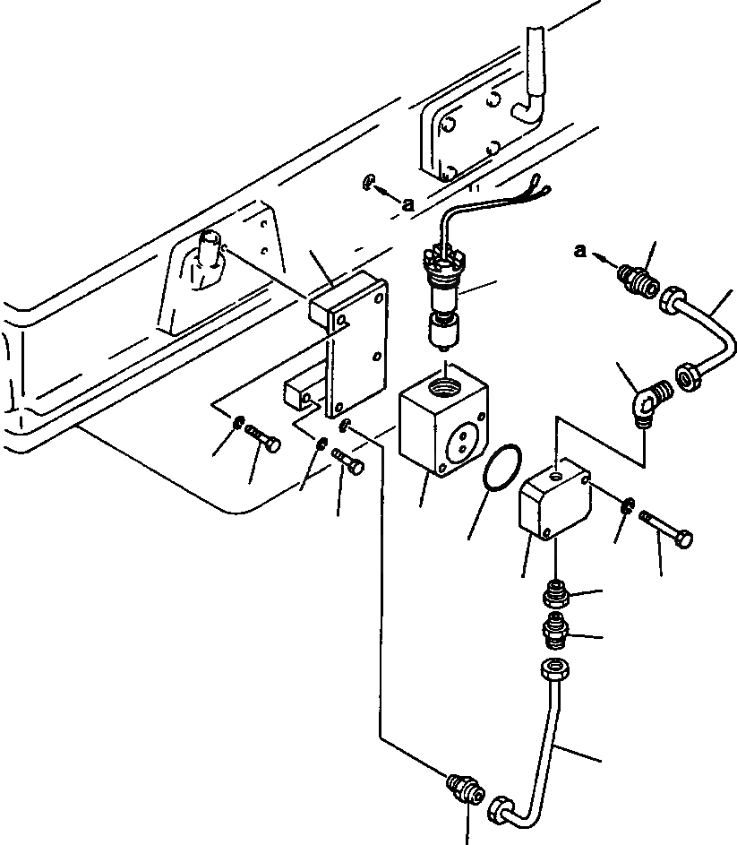
Запчасти Komatsu PC650-5 & PC650LC-5 ДАТЧИК УР-НЯ МАСЛА ТРУБЫ КОМПОНЕНТЫ ДВИГАТЕЛЯ

Схема запчастей Komatsu PC650-5 & PC650LC-5 - ДАТЧИК УР-НЯ МАСЛА ТРУБЫ КОМПОНЕНТЫ ДВИГАТЕЛЯ
11
1
17
10
12
4
2
4
5
3
7
9
8
6
14
15
13
16
FIT
1:1
100%

Артикул

Название

Примечание

Количество

1

6721-81-5730

BRACKET

2

02010-20657

BOLT

3

02010-20650

BOLT

4

01602-20929

WASHER

5

600-815-3210

CASE

6

6721-81-5820

ADAPTER

7

07000-32055

O-RING

8

01011-31015

BOLT

9

01602-01030

WASHER

10

6721-81-5920

TUBE

11

6721-81-5960

ELBOW

12

20D-68-12940

ELBOW

13

6721-81-5910

TUBE

14

07326-10302

ADAPTER

15

07213-51016

CONNECTOR

16

6600-02-3750

NIPPLE

Выбрано товаров: 16