Качественные детали и логистика
Оригинальные и аналоговые запчасти с доставкой по России, Казахстану и Беларуси
©2022 PartSell ООО "Система" ИНН 2463123282 ОГРН 1212400004838
Центральный офис: г. Красноярск, Академика Киренского, д.87, пом.4
Телефон: 8 (800) 777-65-74 Email: zakaz@partsell.ru
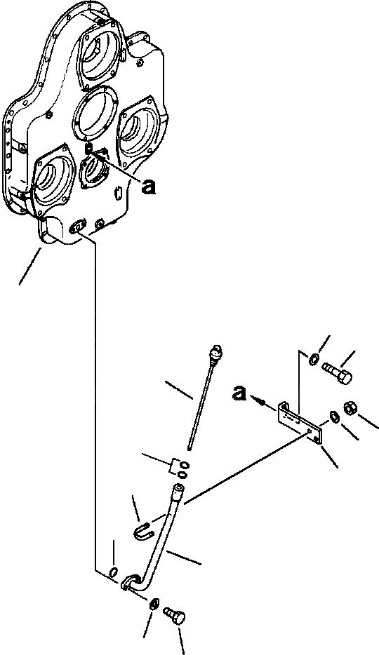
МЕХ-М ОТБОРА МОЩНОСТИ МАСЛ. ЩУП
№
Артикул
Название
Примечание
Количество
1
209-38-51231
TUBE
2
07000-33028
O-RING
3
01010-51040
BOLT
4
01634-31032
WASHER
5
209-38-51240
GAUGE, OIL
6
07000-33022
7
209-38-51250
BRACKET
8
01010-51025
9
01643-31032
10
07283-22738
CLIP
11
01599-01011
NUT
12
Выбрано товаров: 0