Запчасти Komatsu PC650-5 ПОВОРОТН. КЛАПАН (КРЕПЛЕНИЕ ЧАСТИ) ГИДРАВЛИКА

Схема запчастей Komatsu PC650-5 - ПОВОРОТН. КЛАПАН (КРЕПЛЕНИЕ ЧАСТИ) ГИДРАВЛИКА
FIT
1:1
100%

Артикул

Название

Примечание

Количество

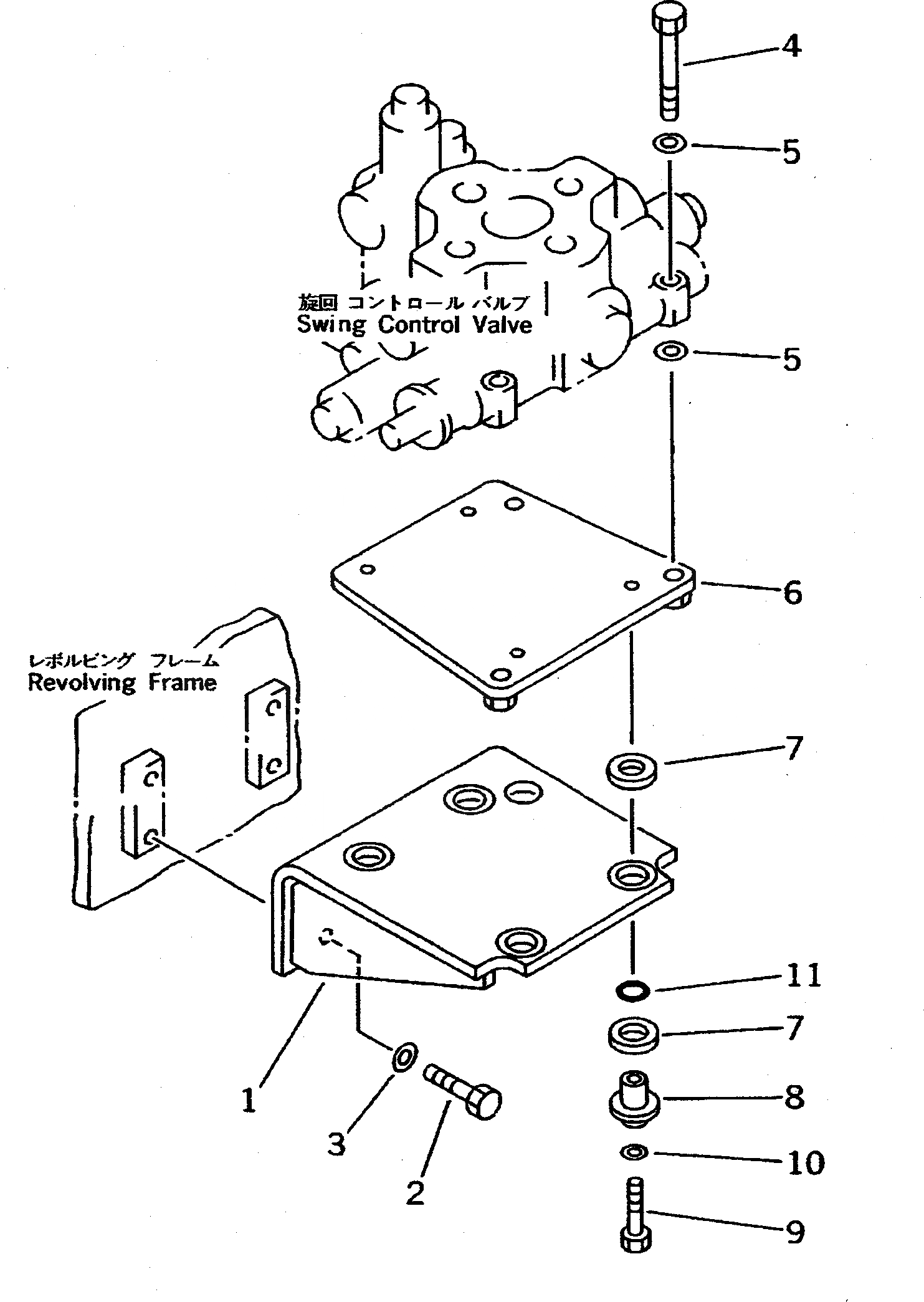
1

209-62-52541

BRACKET

2

01010-51230

BOLT

3

01643-31232

WASHER

4

01010-51295

BOLT

5

01643-31232

WASHER

6

209-62-52550

BRACKET

7

206-62-41430

CUSHION

8

206-62-41440

COLLAR

9

01010-51050

BOLT

10

01643-31032

WASHER

11

07000-02020

O-RING

Выбрано товаров: 0