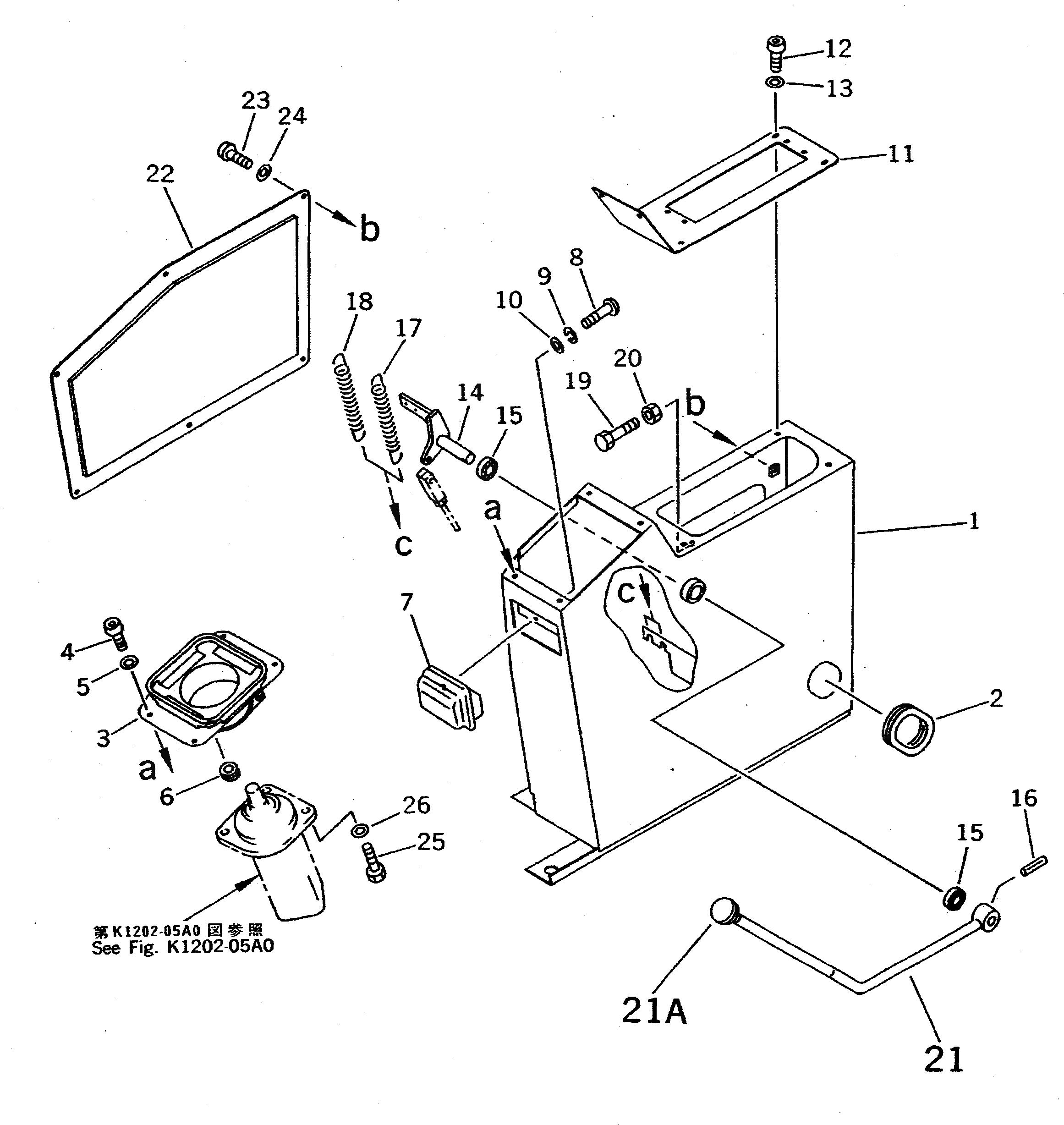
Запчасти Komatsu PC650-5 ЛЕВ. УПРАВЛ-Е СТОЙКА (СТОЙКА SUB)(№79-) КАБИНА ОПЕРАТОРА И СИСТЕМА УПРАВЛЕНИЯ

Схема запчастей Komatsu PC650-5 - ЛЕВ. УПРАВЛ-Е СТОЙКА (СТОЙКА SUB)(№79-) КАБИНА ОПЕРАТОРА И СИСТЕМА УПРАВЛЕНИЯ
FIT
1:1
100%

Артикул

Название

Примечание

Количество

1

209-43-61112

BOX,L.H.

2

176-911-4160

GROMMET

3

209-43-61132

COVER,L.H.

4

209-43-61340

SCREW

5

205-43-73420

WASHER

6

08037-01008

GROMMET

7

205-54-72240

ASHTRAY

8

01220-40408

SCREW

9

01601-20410

WASHER

10

01642-20405

WASHER

11

209-979-6233

PANEL,L.H.

12

209-43-61340

SCREW

13

205-43-73420

WASHER

14

209-43-61214

LEVER

15

195-61-41260

BEARING

16

20T-43-71280

PIN

17

21T-43-71910

SPRING

18

21T-43-71910

SPRING

19

01010-50825

BOLT

20

01580-00806

NUT

21

209-43-61195

LEVER

21A

09304-10835

KNOB

22

209-43-61220

COVER,L.H.

23

01010-50616

BOLT

24

01643-30623

WASHER

25

01010-50825

BOLT

26

01643-30823

WASHER

Выбрано товаров: 27