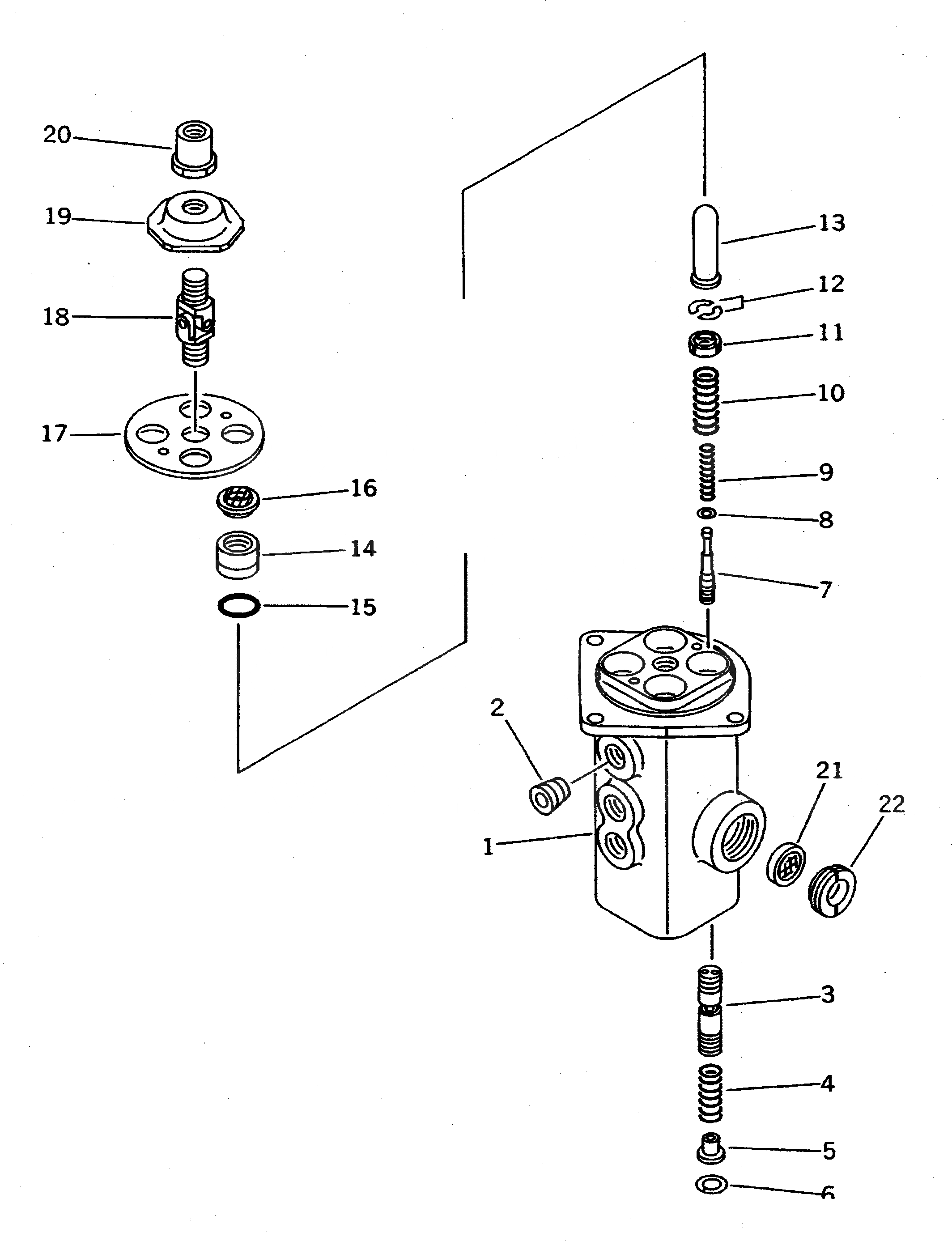
Запчасти Komatsu PC650-5 ЛЕВ. УПРАВЛ-Е СТОЙКА (PPC КЛАПАН) КАБИНА ОПЕРАТОРА И СИСТЕМА УПРАВЛЕНИЯ

Схема запчастей Komatsu PC650-5 - ЛЕВ. УПРАВЛ-Е СТОЙКА (PPC КЛАПАН) КАБИНА ОПЕРАТОРА И СИСТЕМА УПРАВЛЕНИЯ
FIT
1:1
100%

Артикул

Название

Примечание

Количество

|$13

702-16-55004

PILOT VALVE ASS'Y

1

BODY

2

07043-50312

PLUG

3

VALVE

4

702-16-51331

SPRING

5

700-20-51550

RING

6

702-16-51341

RETAINER

7

PISTON

8

702-16-51140

SHIM, 0.30MM

9

702-16-51361

SPRING

10

702-16-51381

SPRING

11

702-16-51161

RETAINER

12

702-16-51170

COLLAR

13

702-16-51210

PISTON

14

702-16-51220

COLLAR

15

07000-02020

O-RING

16

702-16-51270

SEAL

17

702-16-51231

PLATE

18

702-16-51240

JOINT

19

702-16-51430

DISK

20

702-16-51260

NUT

21

720-68-15240

FILTER

22

702-16-51410

PLUG

Выбрано товаров: 23