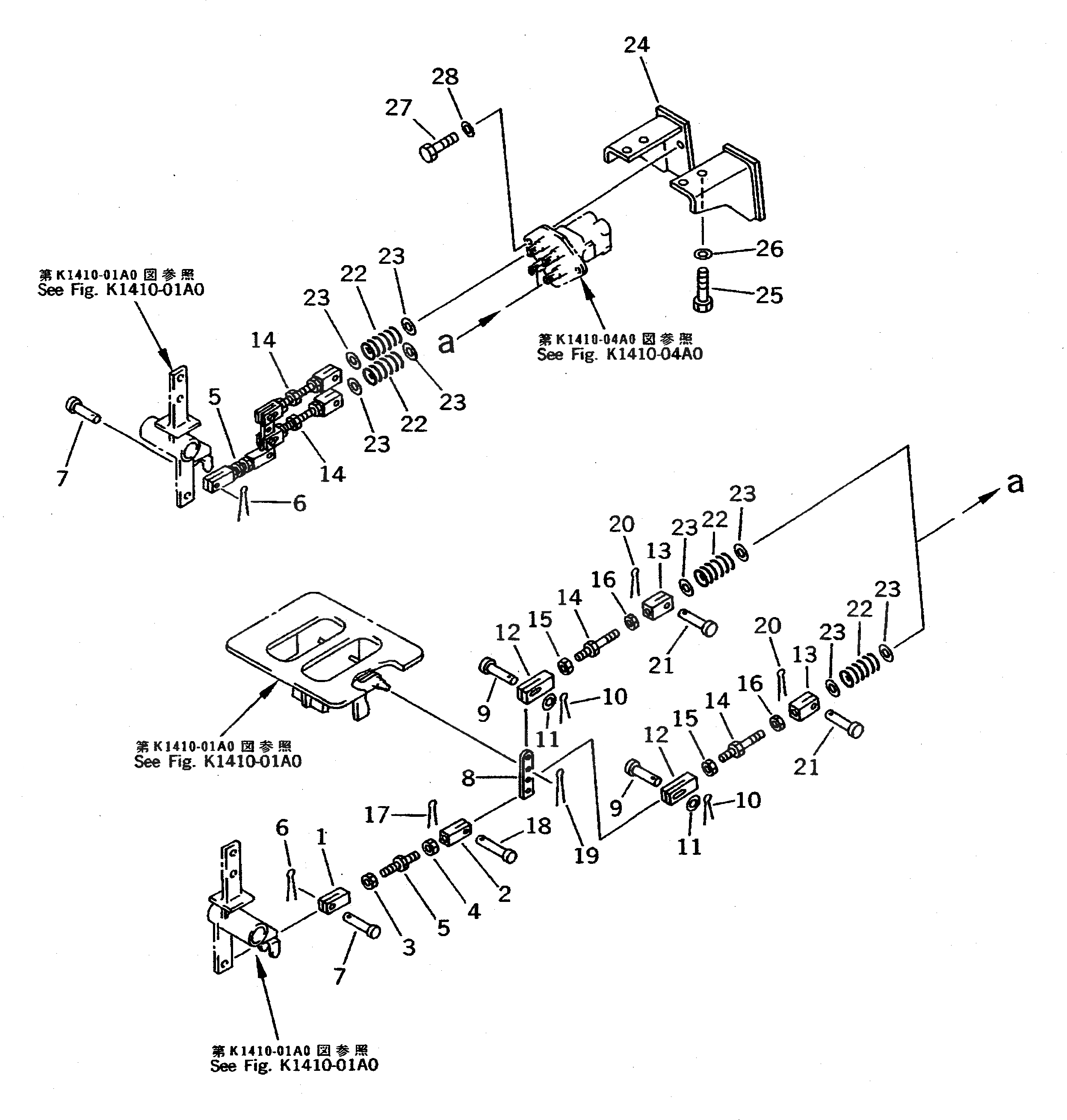
Запчасти Komatsu PC650-5 РЫЧАН УПРАВЛ-Я ХОДОМ (МЕХАНИЗМ) КАБИНА ОПЕРАТОРА И СИСТЕМА УПРАВЛЕНИЯ

Схема запчастей Komatsu PC650-5 - РЫЧАН УПРАВЛ-Я ХОДОМ (МЕХАНИЗМ) КАБИНА ОПЕРАТОРА И СИСТЕМА УПРАВЛЕНИЯ
FIT
1:1
100%

Артикул

Название

Примечание

Количество

1

207-43-54550

YOKE

2

207-43-54560

YOKE

3

01580-10806

NUT

4

01508-40805

NUT

5

205-43-72920

BOLT

6

04050-12015

PIN,COTTER

7

04205-10822

PIN

8

209-43-51540

LEVER

9

04205-10822

PIN

10

04050-12015

PIN,COTTER

11

01641-20812

WASHER

12

205-43-72910

YOKE

13

205-43-72890

YOKE

14

04248-30808

ROD

15

01580-10806

NUT

16

01508-40805

NUT

17

04050-12015

PIN,COTTER

18

04205-10822

PIN

19

04050-12015

PIN,COTTER

20

04050-11612

PIN,COTTER

21

04205-10622

PIN

22

20Y-43-15330

SPRING

23

01641-21223

WASHER

24

207-43-54532

BRACKET

25

01010-51025

BOLT

26

20Y-43-15410

WASHER

27

01010-50825

BOLT

28

01643-30823

WASHER

Выбрано товаров: 28