Запчасти Komatsu PC650-5 КАБИНА КРЕПЛЕНИЕ (ДЛЯ ВЫС. КАБИНА) (С F.O.P.S.)(№-) КАБИНА ОПЕРАТОРА И СИСТЕМА УПРАВЛЕНИЯ

Схема запчастей Komatsu PC650-5 - КАБИНА КРЕПЛЕНИЕ (ДЛЯ ВЫС. КАБИНА) (С F.O.P.S.)(№-) КАБИНА ОПЕРАТОРА И СИСТЕМА УПРАВЛЕНИЯ
FIT
1:1
100%

Артикул

Название

Примечание

Количество

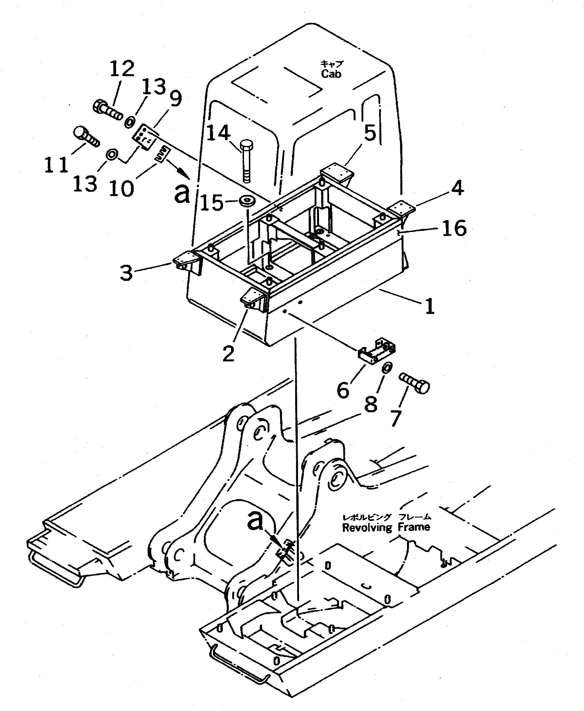
1

209-54-65210

FRAME

2

209-956-6210

BRACKET,FRONT, L.H. (WELDED)

3

209-956-6220

BRACKET,FRONT, R.H. (WELDED)

4

209-956-6230

BRACKET,REAR, L.H. (WELDED)

5

209-956-6240

BRACKET,REAR, R.H. (WELDED)

6

209-54-63480

STEP

7

01010-51230

BOLT

8

01643-31232

WASHER

9

209-54-55120

BRACKET

10

21N-54-12450

SHIM, 1.0MM

11

01010-52060

BOLT

12

01010-52050

BOLT

13

01643-32060

WASHER

14

01011-51600

BOLT

15

6917-21-3460

PLATE

16

207-00-51190

PLATE, MARK

Выбрано товаров: 0