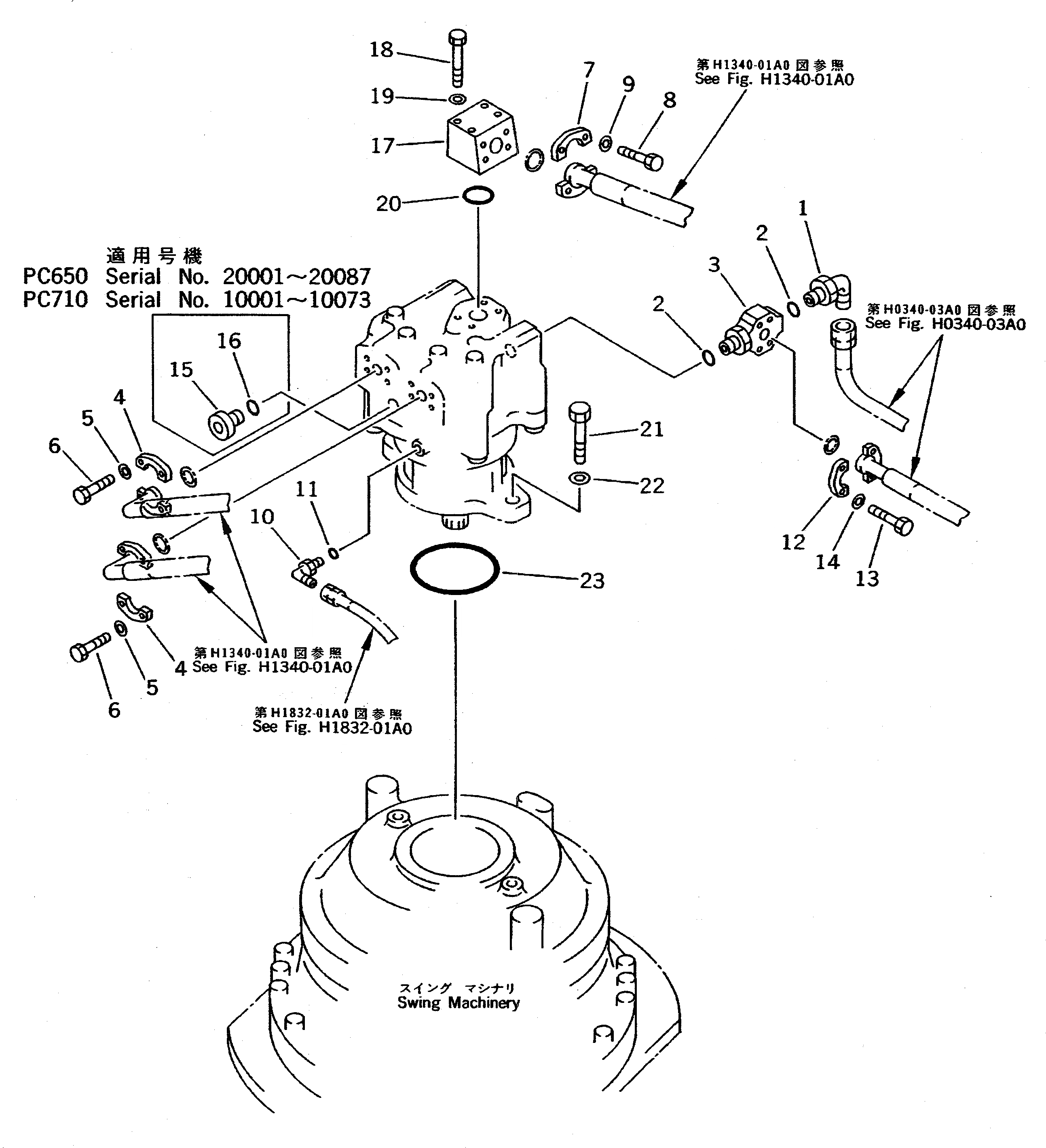
Запчасти Komatsu PC650-5 МОТОР ПОВОРОТА (СОЕДИНИТ. ЧАСТИ) ПОВОРОТН. КРУГ И КОМПОНЕНТЫ

Схема запчастей Komatsu PC650-5 - МОТОР ПОВОРОТА (СОЕДИНИТ. ЧАСТИ) ПОВОРОТН. КРУГ И КОМПОНЕНТЫ
FIT
1:1
100%

Артикул

Название

Примечание

Количество

1

07235-10628

ELBOW

2

07002-02434

O-RING

3

209-62-57221

ELBOW

4

07371-31049

FLANGE

5

01643-51032

WASHER

6

07372-21035

BOLT

7

07371-31255

FLANGE

8

07372-21035

BOLT

9

01643-51032

WASHER

10

07235-10311

ELBOW

10

207-62-33920

ELBOW

11

07002-01423

O-RING

12

07371-31049

FLANGE

13

07372-21035

BOLT

14

01643-51032

WASHER

15

07040-12414

PLUG

16

07002-12434

O-RING

17

209-62-66111

BLOCK

18

01011-51200

BOLT

19

01643-31232

WASHER

20

07000-03048

O-RING

21

01010-52470

BOLT

22

01643-32460

WASHER

23

07000-05150

O-RING

Выбрано товаров: 24