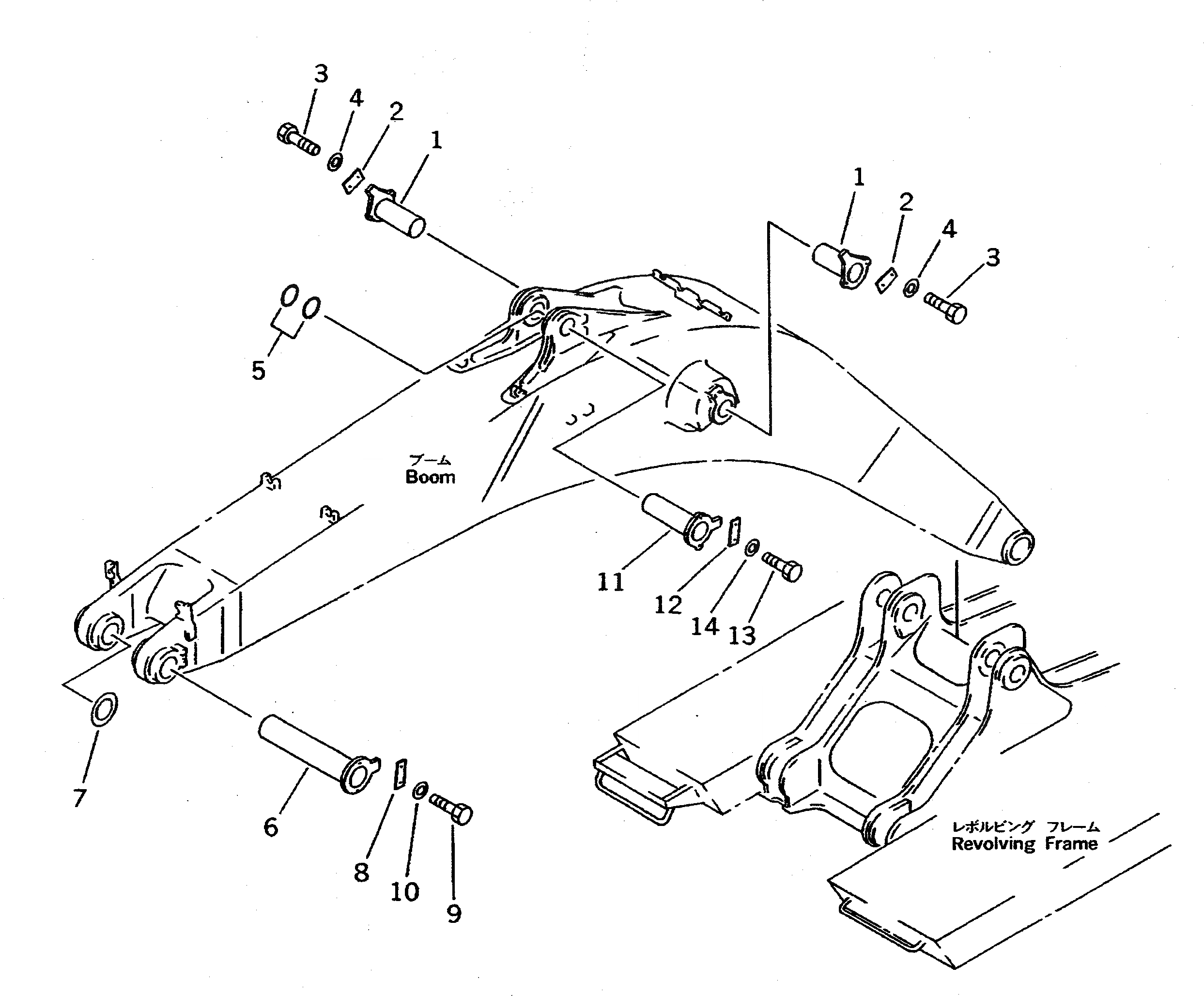
Запчасти Komatsu PC650-5 СТРЕЛА (СТРЕЛА ПАЛЕЦ) (ЭКСКАВАТ.) РАБОЧЕЕ ОБОРУДОВАНИЕ

Схема запчастей Komatsu PC650-5 - СТРЕЛА (СТРЕЛА ПАЛЕЦ) (ЭКСКАВАТ.) РАБОЧЕЕ ОБОРУДОВАНИЕ
FIT
1:1
100%

Артикул

Название

Примечание

Количество

1

209-72-11211

PIN

2

207-70-11230

PLATE

3

01010-51640

BOLT

4

01643-31645

WASHER

5

07000-12130

O-RING

6

209-70-51160

PIN

7

209-72-11180

SHIM, 1.0MM

8

207-70-11230

PLATE

9

01010-51640

BOLT

10

01643-31645

WASHER

11

209-70-51150

PIN

12

207-70-11230

PLATE

13

01010-51640

BOLT

14

01643-31645

WASHER

Выбрано товаров: 14