Запчасти Komatsu PC650-5 ЦИЛИНДР КОВША (ЭКСКАВАТ.) РАБОЧЕЕ ОБОРУДОВАНИЕ

Схема запчастей Komatsu PC650-5 - ЦИЛИНДР КОВША (ЭКСКАВАТ.) РАБОЧЕЕ ОБОРУДОВАНИЕ
FIT
1:1
100%

Артикул

Название

Примечание

Количество

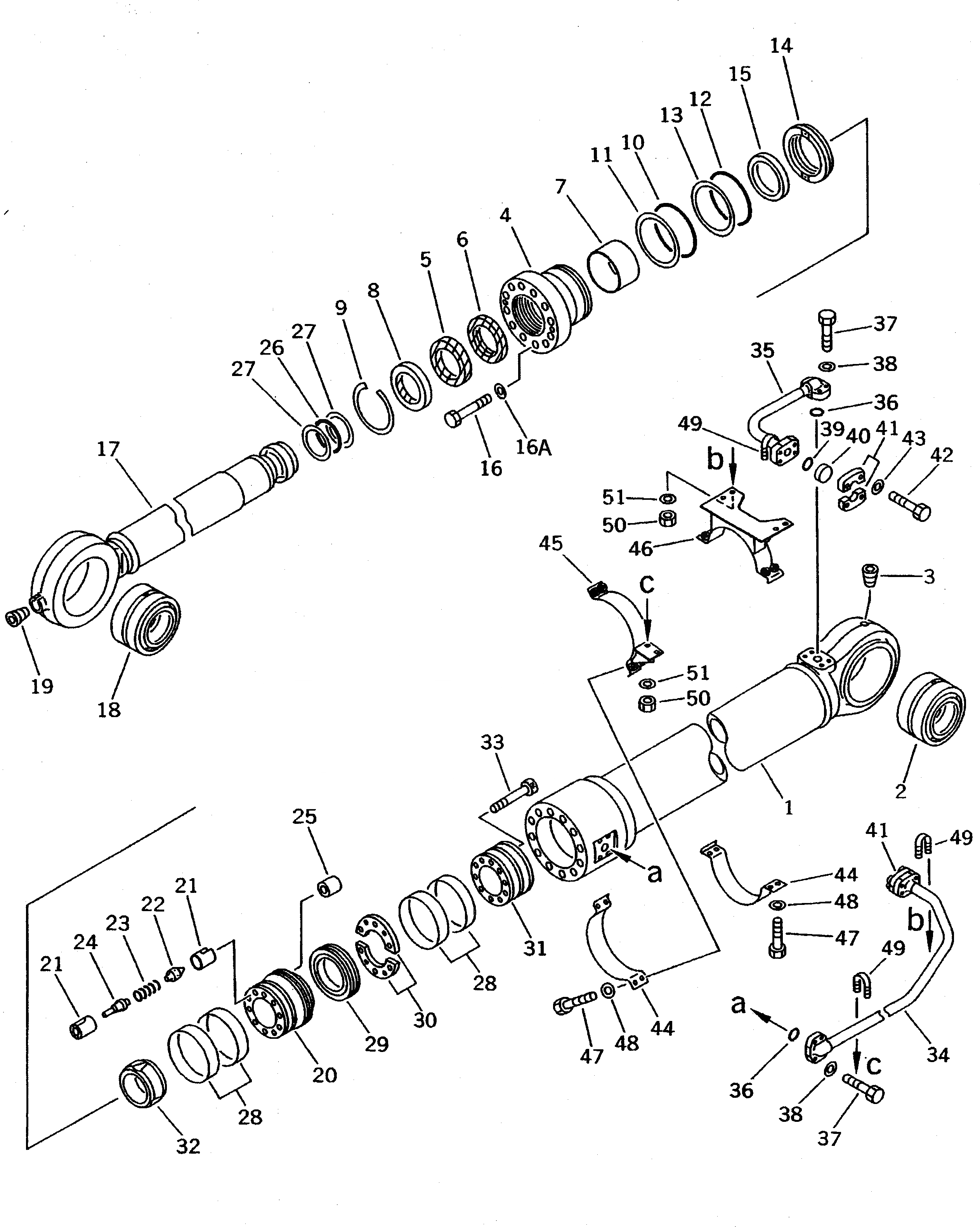
G-1

209-63-X2130

BUCKET CYLINDER G.

|$3

209-63-02130

CYLINDER ASS'Y

1

209-63-72540

CYLINDER

2

707-46-13010

BUSHING

3

07043-00108

PLUG

4

707-28-18550

HEAD,CYLINDER

5

707-51-13130

PACKING,ROD (KIT)

6

707-51-13640

RING,BUFFER (KIT)

7

707-52-91050

BUSHING

8

707-56-13740

SEAL,DUST (KIT)

9

07179-14146

RING

10

07000-15175

O-RING (KIT)

11

707-35-91850

RING,BACK-UP (KIT)

12

07000-15175

O-RING (KIT)

13

07001-05175

RING,BACK-UP (KIT)

14

707-71-31360

COLLAR

15

707-71-11350

RING

16

01010-82495

BOLT

16A

707-88-75410

WASHER

17

209-63-72520

ROD,PISTON

18

707-46-11520

BUSHING

19

07043-00108

PLUG

|$26

707-91-01812

PISTON ASS'Y

20

PISTON

21

SEAT

22

VALVE

23

SPRING

24

VALVE,PISTON

25

707-71-91410

SPACER

26

07000-12110

O-RING (KIT)

27

707-35-52950

RING,BACK-UP (KIT)

28

707-39-18820

RING,WEAR (KIT)

29

707-44-18180

RING,PISTON (KIT)

30

707-40-18970

SPACER

31

707-37-18020

PISTON

32

707-71-61310

PLUNGER

33

01252-31485

BOLT

34

209-62-68160

TUBE

35

209-62-68170

TUBE

36

07000-13038

O-RING (KIT)

37

01010-51245

BOLT

38

01643-31232

WASHER

39

07000-13038

O-RING (KIT)

40

07378-11210

HEAD

41

07371-51260

FLANGE

42

01010-51245

BOLT

43

01643-31232

WASHER

44

707-88-96050

BAND

45

209-62-68190

BRACKET

46

209-62-68180

BAND

47

01010-51240

BOLT

48

01643-31232

WASHER

49

07283-33442

CLIP

50

01599-01011

NUT

51

01643-31032

WASHER

|$60

707-99-69600

CYLINDER KIT

Выбрано товаров: 56