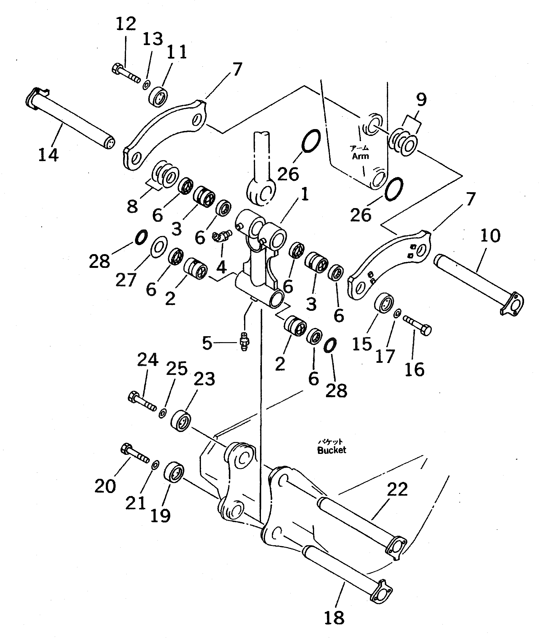
Запчасти Komatsu PC650-5 СОЕДИНЕНИЕ КОВША (ДЛЯ .9M И .M РУКОЯТЬ) (ЭКСКАВАТ.)(№79-) РАБОЧЕЕ ОБОРУДОВАНИЕ

Схема запчастей Komatsu PC650-5 - СОЕДИНЕНИЕ КОВША (ДЛЯ .9M И .M РУКОЯТЬ) (ЭКСКАВАТ.)(№79-) РАБОЧЕЕ ОБОРУДОВАНИЕ
FIT
1:1
100%

Артикул

Название

Примечание

Количество

|$2

209-70-00090

LINK ASS'Y

1

LINK,FRONT

2

209-72-53170

BUSHING

3

209-70-57360

BUSHING

4

07020-00675

FITTING

5

07020-00000

FITTING

6

209-72-12211

SEAL

7

209-70-53122

LINK

8

209-72-11220

SHIM, 1.0MM

9

209-72-11220

SHIM, 1.0MM

10

209-70-57340

PIN

11

209-70-53181

STOPPER

12

01010-52460

BOLT

13

01643-32460

WASHER

14

209-70-57340

PIN

15

209-70-53181

STOPPER

16

01010-52460

BOLT

17

01643-32460

WASHER

18

209-70-57350

PIN

19

209-70-53181

STOPPER

20

01010-52460

BOLT

21

01643-32460

WASHER

22

209-70-57330

PIN

23

21N-72-13130

HOLDER

24

01010-51645

BOLT

25

01643-31645

WASHER

26

21N-70-13150

O-RING

27

209-72-11220

SHIM, 1.0MM

28

208-70-33181

O-RING

Выбрано товаров: 29