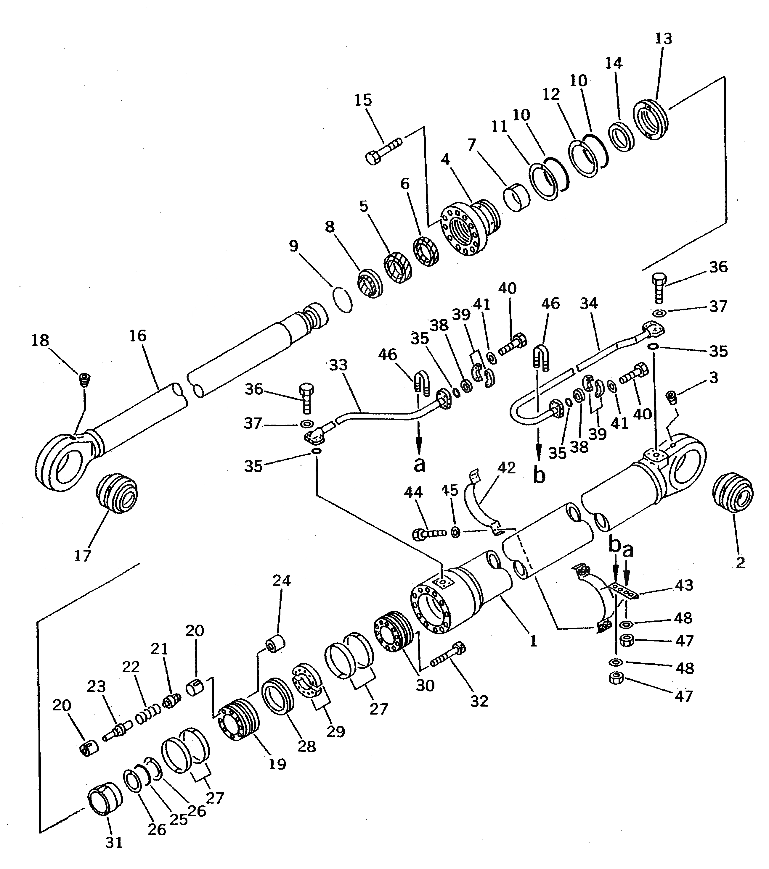
Запчасти Komatsu PC650-5 ЦИЛИНДР СТРЕЛЫ(ДЛЯ ПОГРУЗ.) РАБОЧЕЕ ОБОРУДОВАНИЕ

Схема запчастей Komatsu PC650-5 - ЦИЛИНДР СТРЕЛЫ(ДЛЯ ПОГРУЗ.) РАБОЧЕЕ ОБОРУДОВАНИЕ
FIT
1:1
100%

Артикул

Название

Примечание

Количество

G-1

209-63-X3011

CYLINDER GROUP,L.H.

G-1

209-63-X3021

CYLINDER GROUP,R.H.

|$4

209-63-03011

CYLINDER ASS'Y

1

209-63-56540

CYLINDER

2

707-46-13010

BUSHING

3

07043-00108

PLUG

4

707-28-18520

HEAD,CYLINDER

5

707-51-12130

PACKING,ROD (KIT)

6

707-51-12640

RING,BUFFER (KIT)

7

707-52-90950

BUSHING

8

707-56-12740

SEAL,DUST (KIT)

9

07179-13136

RING,SNAP

10

07000-15175

O-RING (KIT)

11

707-35-91850

RING,BACK-UP (KIT)

12

07001-05175

RING,BACK-UP (KIT)

13

707-71-31260

COLLAR

14

707-71-11250

RING

15

01010-52485

BOLT

16

209-63-56521

ROD

17

707-46-11510

BUSHING

18

07043-00108

PLUG

|$25

707-91-01822

PISTON SUB ASS'Y

19

PISTON

20

SEAT,VALVE

21

VALVE

22

SPRING

23

VALVE,PISTON

24

707-71-91410

SPACER

25

07000-12100

O-RING (KIT)

26

707-35-52940

RING,BACK-UP (KIT)

27

707-39-18820

RING,WEAR (KIT)

28

707-44-18180

RING,PISTON (KIT)

29

707-40-18980

SPACER

30

707-37-18040

PISTON

31

707-71-51271

PLUNGER

32

01252-31485

BOLT

33

209-62-53131

TUBE,L.H.

33

209-62-53141

TUBE,R.H.

34

209-62-53110

TUBE,L.H.

34

209-62-53120

TUBE,R.H.

35

07000-13038

O-RING (KIT)

36

01010-51245

BOLT

37

01643-31232

WASHER

38

07378-11210

HEAD,SLEEVE

39

07371-51260

FLANGE,SPLIT

40

01010-51245

BOLT

41

01643-31232

WASHER

42

707-88-96050

BAND

43

209-62-53161

BRACKET

44

01010-51240

BOLT

45

01643-31232

WASHER

46

07283-23442

CLIP

47

01599-01011

NUT

48

01643-31032

WASHER

|$59

707-99-68600

CYLINDER KIT

Выбрано товаров: 55