Запчасти Komatsu PC650-5 .8M. ГОРИЗОНТАЛЬН. ПАЛЕЦ КОВШ¤ 8MM (С КРЮК)(КРОМЕ ЯПОН.) РАБОЧЕЕ ОБОРУДОВАНИЕ

Схема запчастей Komatsu PC650-5 - .8M. ГОРИЗОНТАЛЬН. ПАЛЕЦ КОВШ¤ 8MM (С КРЮК)      (КРОМЕ ЯПОН.) РАБОЧЕЕ ОБОРУДОВАНИЕ
FIT
1:1
100%

Артикул

Название

Примечание

Количество

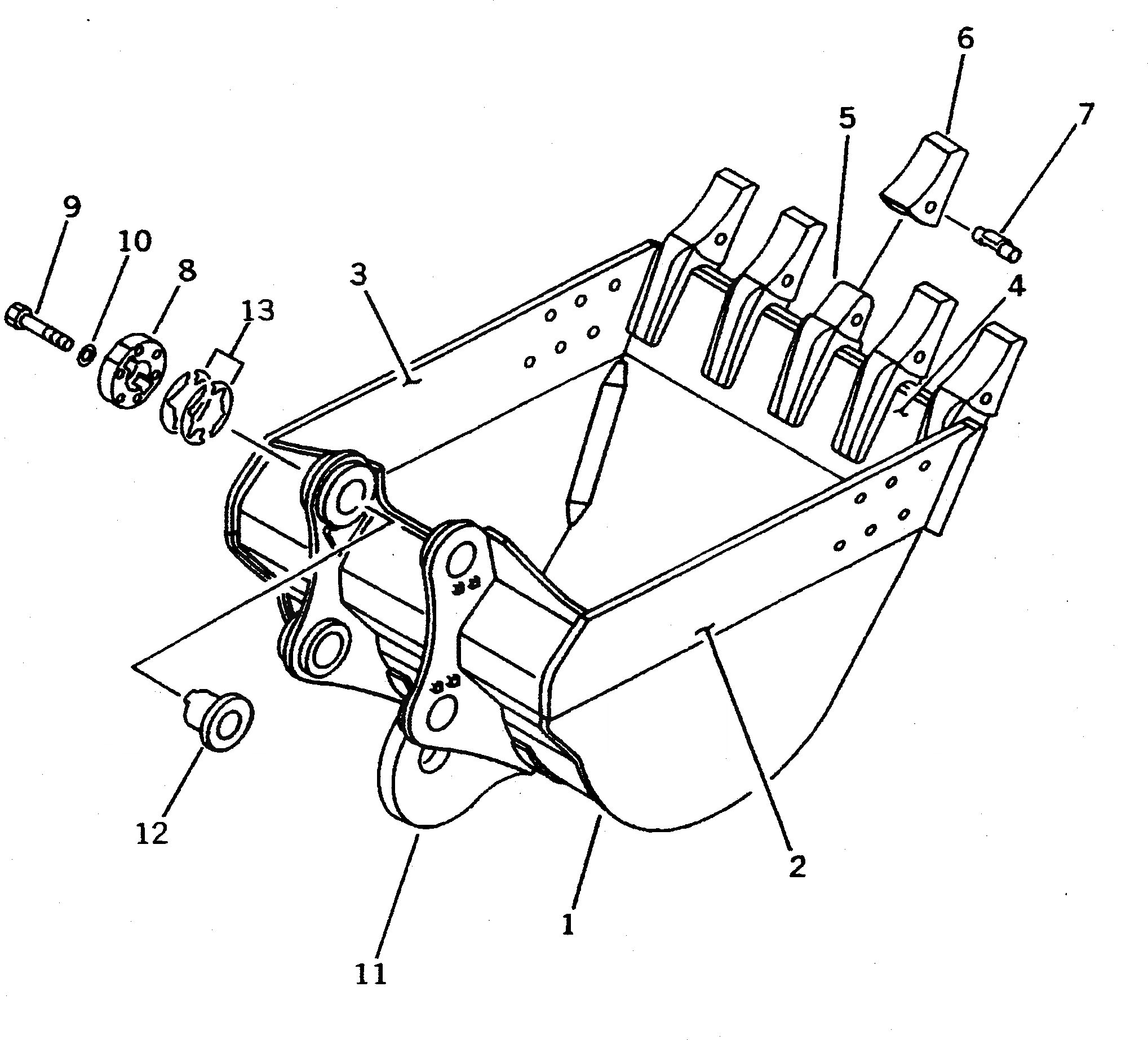
1

209-920-5112

BUCKET

2

209-70-54121

PLATE (WELDED)

3

209-70-54131

PLATE (WELDED)

4

209-920-5310

PLATE (WELDED)

5

209-70-54143

ADAPTER (WELDED)

6

209-70-54210

TOOTH

7

209-70-54240

PIN ASS'Y

8

209-70-54171

COVER

9

01010-82480

BOLT

10

01643-32460

WASHER

11

209-70-14250

HOOK

12

209-70-54160

BUSHING

13

209-70-00082

SHIM ASS'Y

13

SHIM, 1.0MM

13

SHIM, 0.5MM

Выбрано товаров: 15