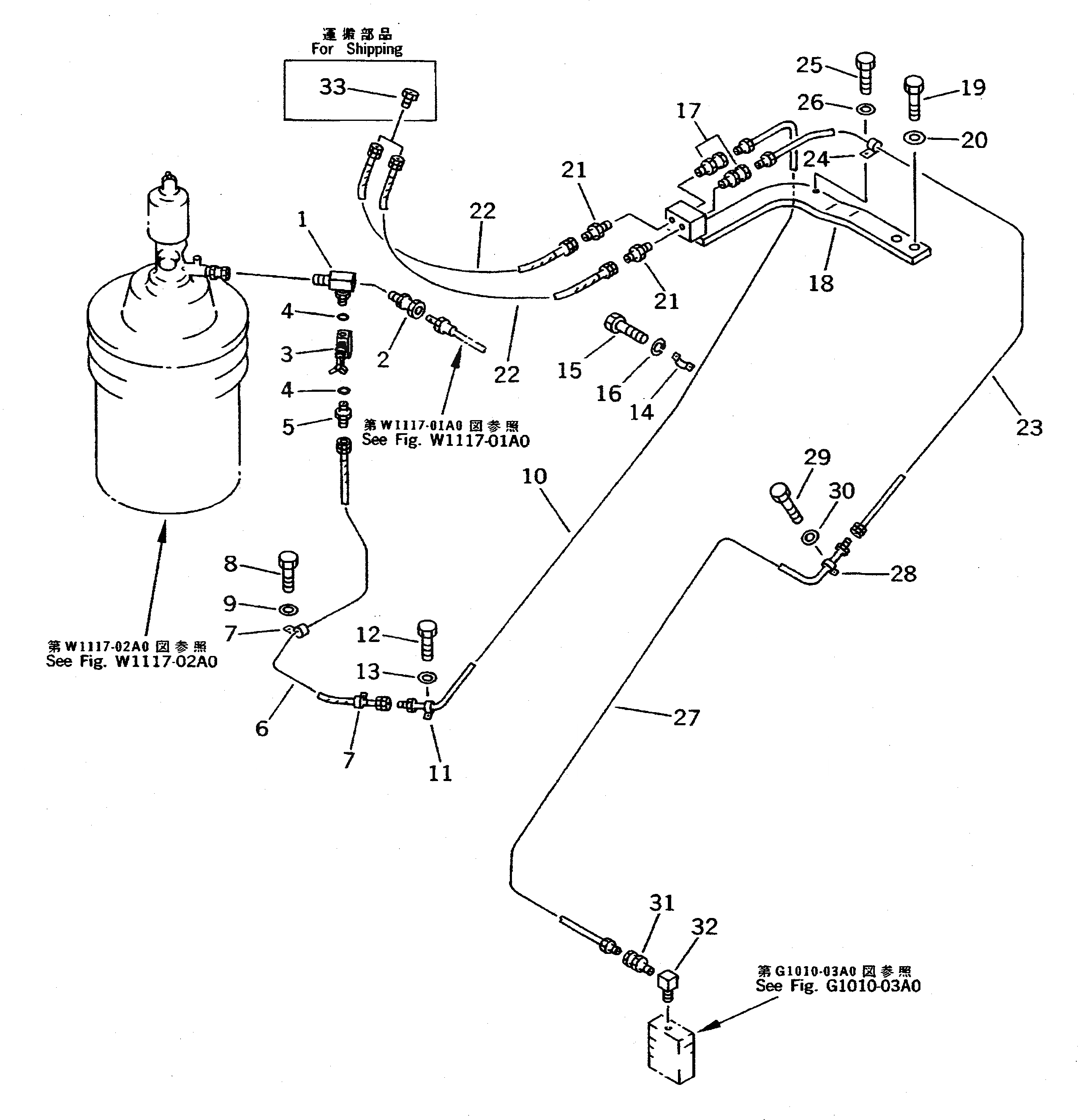
Запчасти Komatsu PC650-5 АВТОМАТИЧ. СМАЗ. ОСНОВН. ТРУБЫ (СМАЗ. ТРУБЫ) (НАСОС - DISTRIBUTER) ВОЗД. СИСТЕМА

Схема запчастей Komatsu PC650-5 - АВТОМАТИЧ. СМАЗ. ОСНОВН. ТРУБЫ (СМАЗ. ТРУБЫ) (НАСОС - DISTRIBUTER) ВОЗД. СИСТЕМА
FIT
1:1
100%

Артикул

Название

Примечание

Количество

1

209-68-63160

ELBOW

2

209-68-51220

ADAPTER

3

21T-60-12251

VALVE

4

07002-01423

O-RING

5

21T-68-72231

NIPPLE

6

21T-72-19350

HOSE

7

08036-01214

CLIP

8

01010-51220

BOLT

9

01643-31232

WASHER

10

209-68-62110

TUBE

11

175-06-36130

CLAMP

12

01010-51225

BOLT

13

01643-31232

WASHER

14

07282-11048

CLAMP

15

01010-50612

BOLT

16

01602-20619

WASHER

17

21T-72-17620

ADAPTER

18

209-68-63150

BRACKET

19

01010-51235

BOLT

20

175-54-34170

WASHER

21

21T-72-17690

ADAPTER

22

21T-72-19350

HOSE

23

209-68-62120

TUBE

24

175-04-25390

CLIP

25

01010-51016

BOLT

26

01643-31032

WASHER

27

209-68-62130

TUBE

28

175-04-25390

CLIP

29

01010-51020

BOLT

30

01643-31032

WASHER

31

21T-72-17620

ADAPTER

32

560-44-14460

NIPPLE

33

21T-98-71140

PLUG,(FOR SHIPPING)

Выбрано товаров: 0