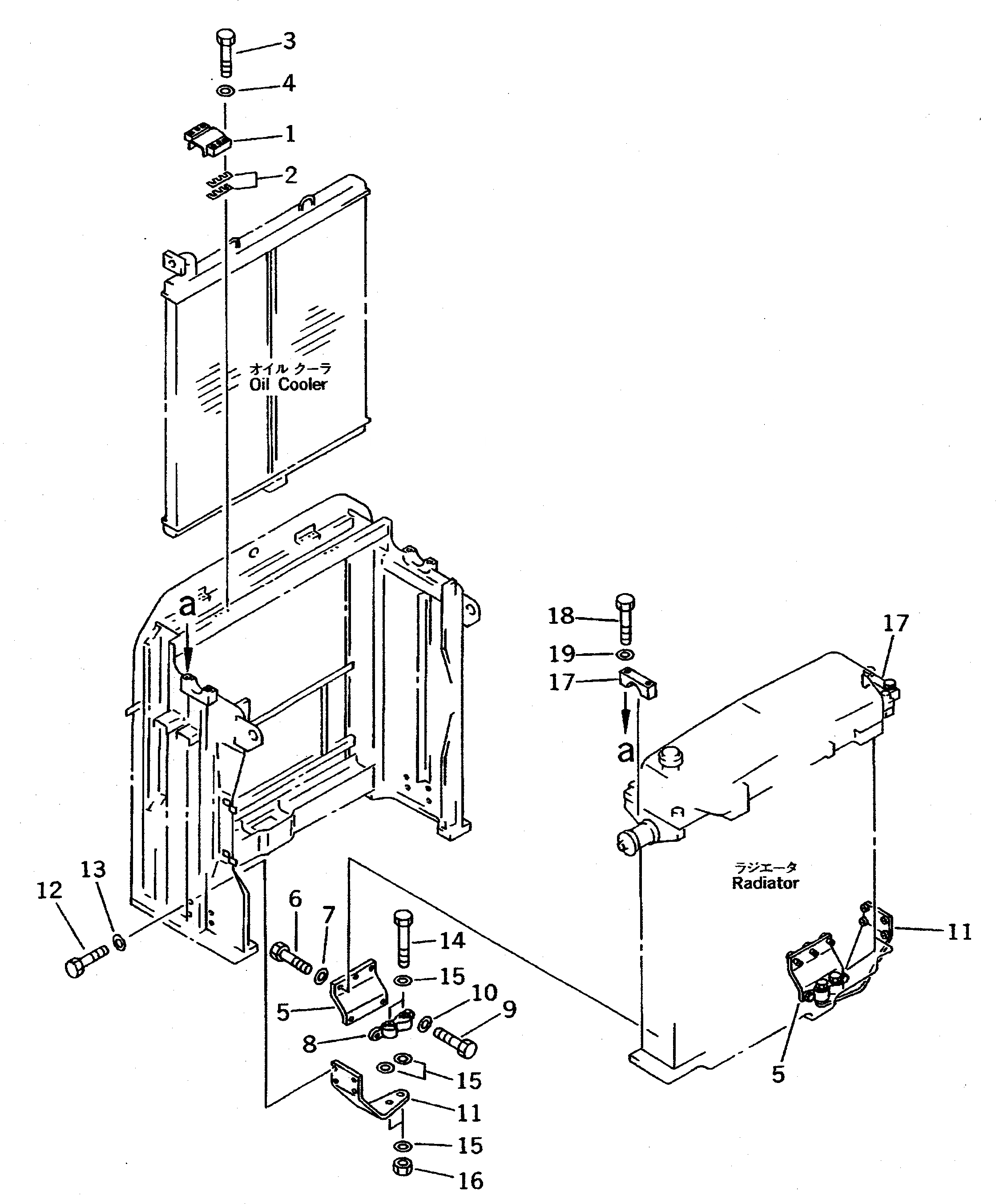
Запчасти Komatsu PC650-5 ОХЛАЖД-Е (РАДИАТОР И МАСЛООХЛАДИТЕЛЬ КРЕПЛЕНИЕ) СИСТЕМА ОХЛАЖДЕНИЯ

Схема запчастей Komatsu PC650-5 - ОХЛАЖД-Е (РАДИАТОР И МАСЛООХЛАДИТЕЛЬ КРЕПЛЕНИЕ) СИСТЕМА ОХЛАЖДЕНИЯ
FIT
1:1
100%

Артикул

Название

Примечание

Количество

1

209-03-51171

CLAMP

2

198-03-15141

SHIM¤ 1.0MM

3

01010-51045

BOLT

4

01643-31032

WASHER

5

209-03-21290

SEAT

6

01010-51240

BOLT

7

01643-31232

WASHER

8

195-03-22501

ISOLATOR ASS'Y

9

01010-51240

BOLT

10

01643-31232

WASHER

11

209-03-51190

BRACKET

12

01010-51235

BOLT

13

175-54-34170

WASHER

14

01091-52205

BOLT

15

01643-32260

WASHER

16

01582-12218

NUT

17

209-03-51160

CLAMP

18

01010-52090

BOLT

19

01643-32060

WASHER

Выбрано товаров: 19