Запчасти Komatsu PC650-5 СТРЕЛА COMPENSATE ТРУБЫ (КЛАПАН EPC) (ДЛЯ ПОГРУЗ.) ГИДРАВЛИКА

Схема запчастей Komatsu PC650-5 - СТРЕЛА COMPENSATE ТРУБЫ (КЛАПАН EPC) (ДЛЯ ПОГРУЗ.) ГИДРАВЛИКА
FIT
1:1
100%

Артикул

Название

Примечание

Количество

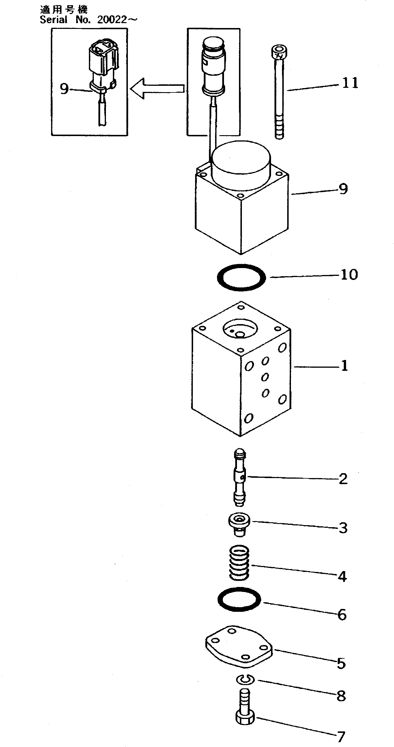
|1

702-21-05140

VALVE ASS'Y

|1

702-21-05110

VALVE ASS'Y

1

702-21-51110

BODY

2

702-21-51520

SPOOL

3

702-21-51130

RETAINER

4

702-21-51141

SPRING

5

702-21-51150

PLATE

6

07000-03028

O-RING

7

01010-30616

BOLT

8

01602-20619

WASHER

9

702-21-51180

SOLENOID ASS'Y

|9

706-46-70911

SOLENOID

10

07000-03035

O-RING

11

706-47-60230

BOLT

Выбрано товаров: 14