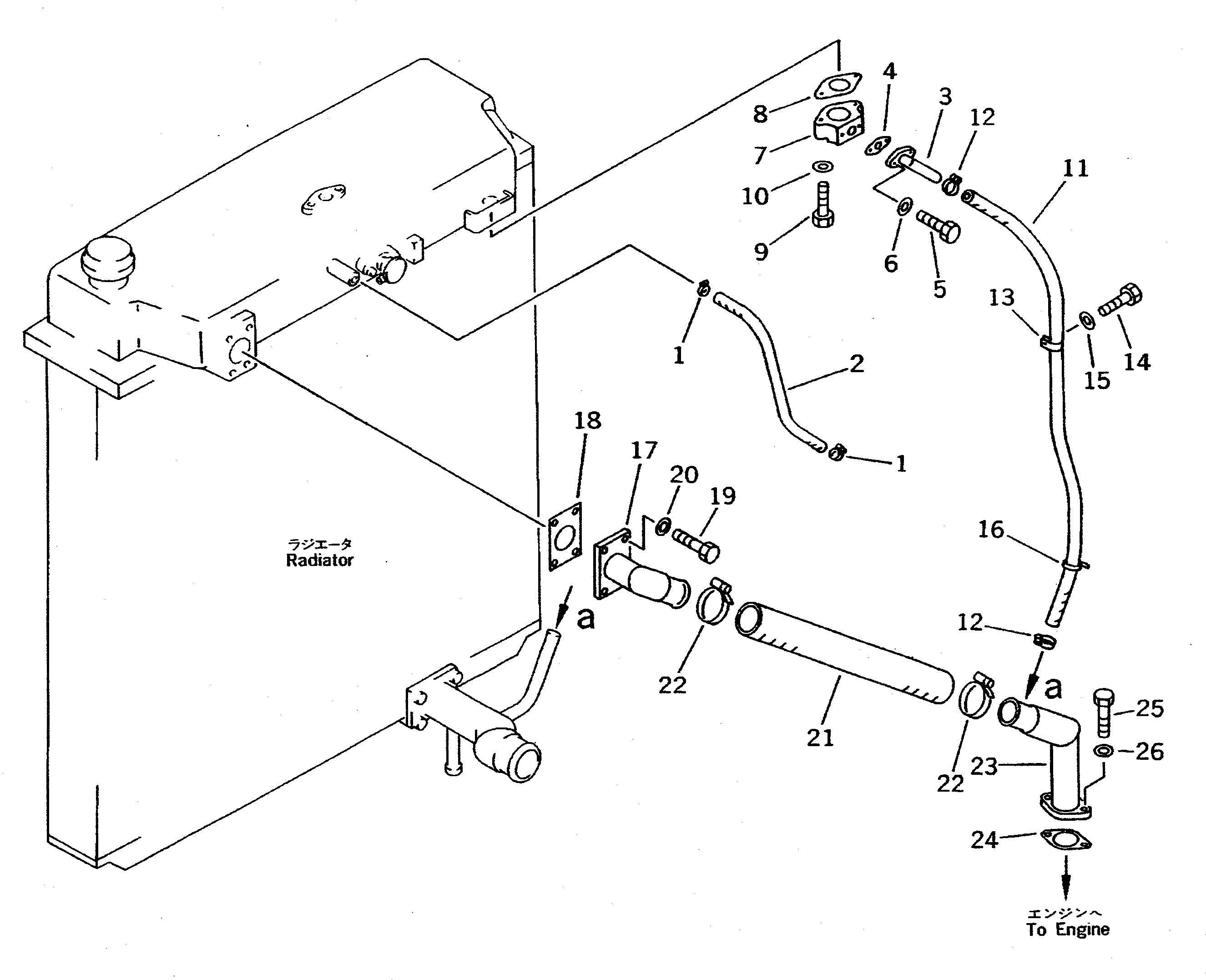
Запчасти Komatsu PC650-5 ОХЛАЖД-Е (ВЕРХН. БАК ТРУБЫ) СИСТЕМА ОХЛАЖДЕНИЯ

Схема запчастей Komatsu PC650-5 - ОХЛАЖД-Е (ВЕРХН. БАК ТРУБЫ) СИСТЕМА ОХЛАЖДЕНИЯ
FIT
1:1
100%

Артикул

Название

Примечание

Количество

1

07281-00197

CLAMP

2

07260-20990

HOSE

3

209-03-51320

TUBE

4

07343-02708

GASKET

5

01010-51030

BOLT

6

01643-31032

WASHER

7

209-03-51310

ELBOW

8

07343-24808

GASKET

|8

07343-04808

GASKET

9

01010-51260

BOLT

10

01643-31232

WASHER

11

195-03-18680

HOSE

12

07289-00045

CLAMP

|12

207-09-11110

CLAMP

13

195-03-11511

CLIP

14

01010-51225

BOLT

15

01643-31232

WASHER

16

08034-00834

BAND

17

209-03-51550

TUBE

18

195-03-18651

GASKET

|18

195-03-18650

GASKET

19

01010-51235

BOLT

20

01643-31232

WASHER

21

209-03-51261

HOSE

22

205-09-61120

CLAMP

23

209-03-51560

TUBE

24

6210-61-6440

GASKET

25

01010-51035

BOLT

26

01643-31032

WASHER

Выбрано товаров: 29