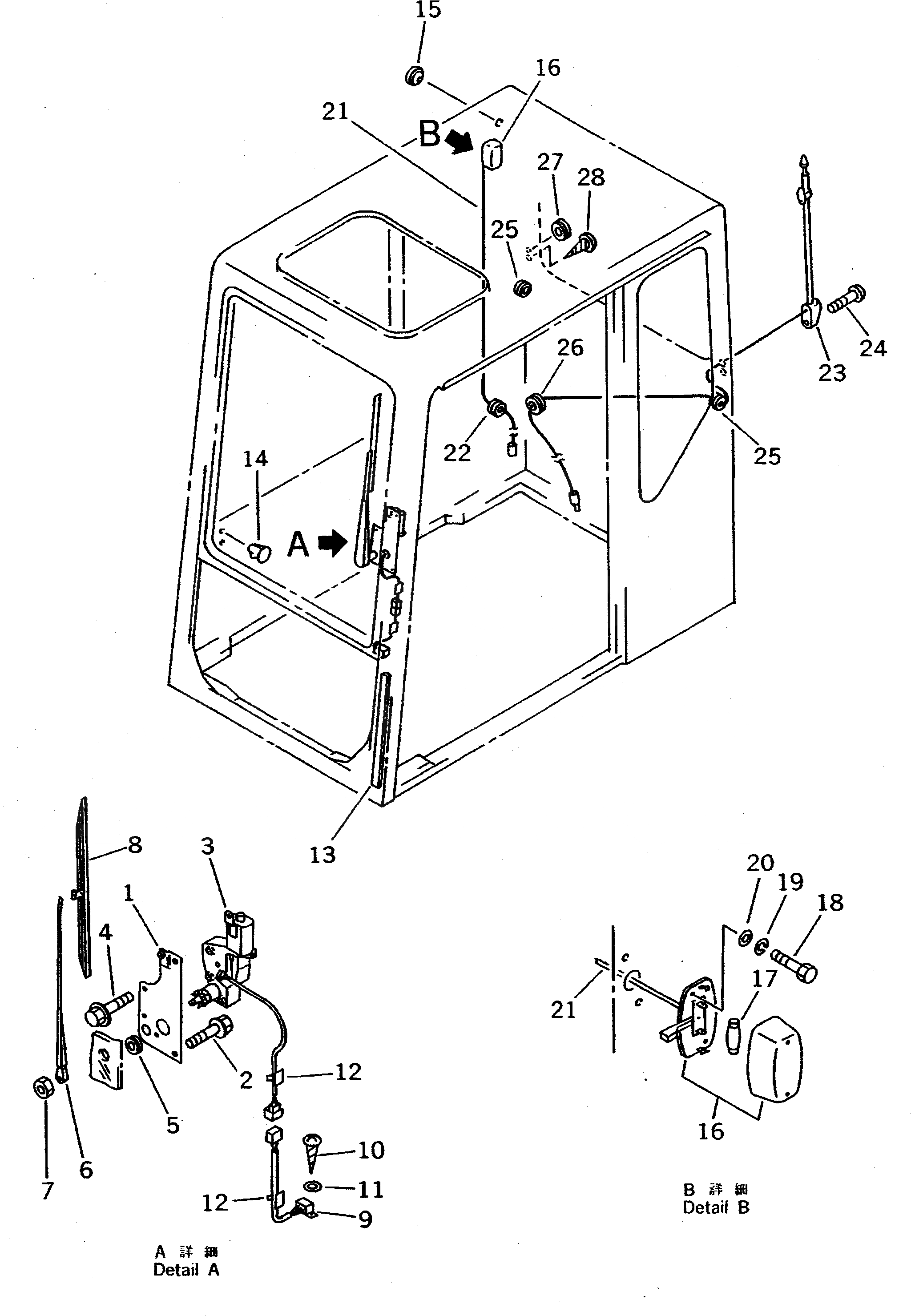
Запчасти Komatsu PC650-5 КАБИНА (ЭЛЕКТР. ОБОРУД-Е)(№-78) КАБИНА ОПЕРАТОРА И СИСТЕМА УПРАВЛЕНИЯ

Схема запчастей Komatsu PC650-5 - КАБИНА (ЭЛЕКТР. ОБОРУД-Е)(№-78) КАБИНА ОПЕРАТОРА И СИСТЕМА УПРАВЛЕНИЯ
FIT
1:1
100%

Артикул

Название

Примечание

Количество

|1

209-54-00146

OPERATOR'S CAB ASS'Y

|1

209-54-00143

OPERATOR'S CAB ASS'Y

1

20Y-54-11791

BRACKET

2

20Y-54-14360

BOLT

3

20Y-06-11750

MOTOR,WIPER

4

20Y-54-14380

BOLT

5

08037-02512

GROMMET

6

20Y-06-11760

ARM,WIPER

7

01580-10806

NUT

8

20Y-06-11770

BLADE

9

20Y-06-11382

WIRING HARNESS

10

01370-00412

SCREW

11

01641-20405

WASHER

12

20Y-54-13440

CLIP

13

20Y-54-14510

DUCT

14

20Y-54-14540

PLUG

15

205-54-71611

CAP

16

08141-02400

LAMP

17

08116-02410

BULB¤ 10W

18

01220-40412

SCREW

19

01601-20410

WASHER

20

01641-20405

WASHER

21

20Y-06-13230

WIRING HARNESS

22

08037-01008

GROMMET

23

08912-01500

ANTENNA

24

01220-40420

SCREW

25

08037-01008

GROMMET

26

08037-01610

GROMMET

27

09415-01008

CAP

28

01370-00412

SCREW

Выбрано товаров: 30