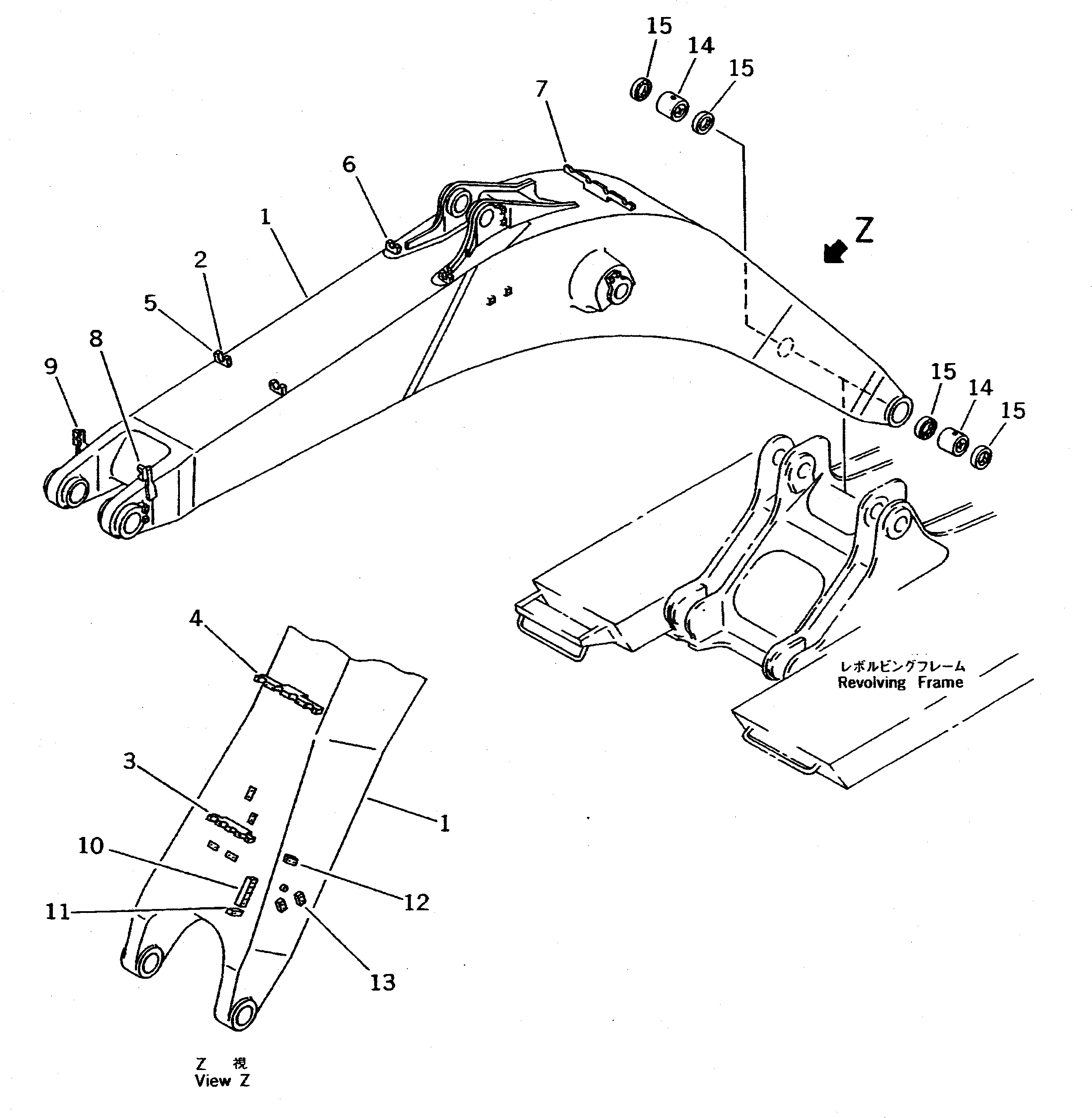
Запчасти Komatsu PC650-5 СТРЕЛА (8.M) (ЭКСКАВАТ.) (ДЛЯ АВТОМАТИЧ. СМАЗ.) РАБОЧЕЕ ОБОРУДОВАНИЕ

Схема запчастей Komatsu PC650-5 - СТРЕЛА (8.M) (ЭКСКАВАТ.) (ДЛЯ АВТОМАТИЧ. СМАЗ.) РАБОЧЕЕ ОБОРУДОВАНИЕ
FIT
1:1
100%

Артикул

Название

Примечание

Количество

|1

209-70-00130

BOOM ASS'Y

1

BOOM

2

209-62-58520

SEAT

3

209-62-58210

CLAMP

4

209-62-58220

CLAMP

5

209-62-58350

CLAMP

6

209-62-58360

CLAMP

7

209-62-58510

CLAMP

8

209-62-68210

BRACKET

9

209-62-68220

BRACKET

10

209-70-65110

SEAT

11

209-70-65120

SEAT

12

209-70-65130

SEAT

13

209-70-65140

SEAT

14

209-70-51190

BUSHING

15

209-72-11261

SEAL

Выбрано товаров: 16