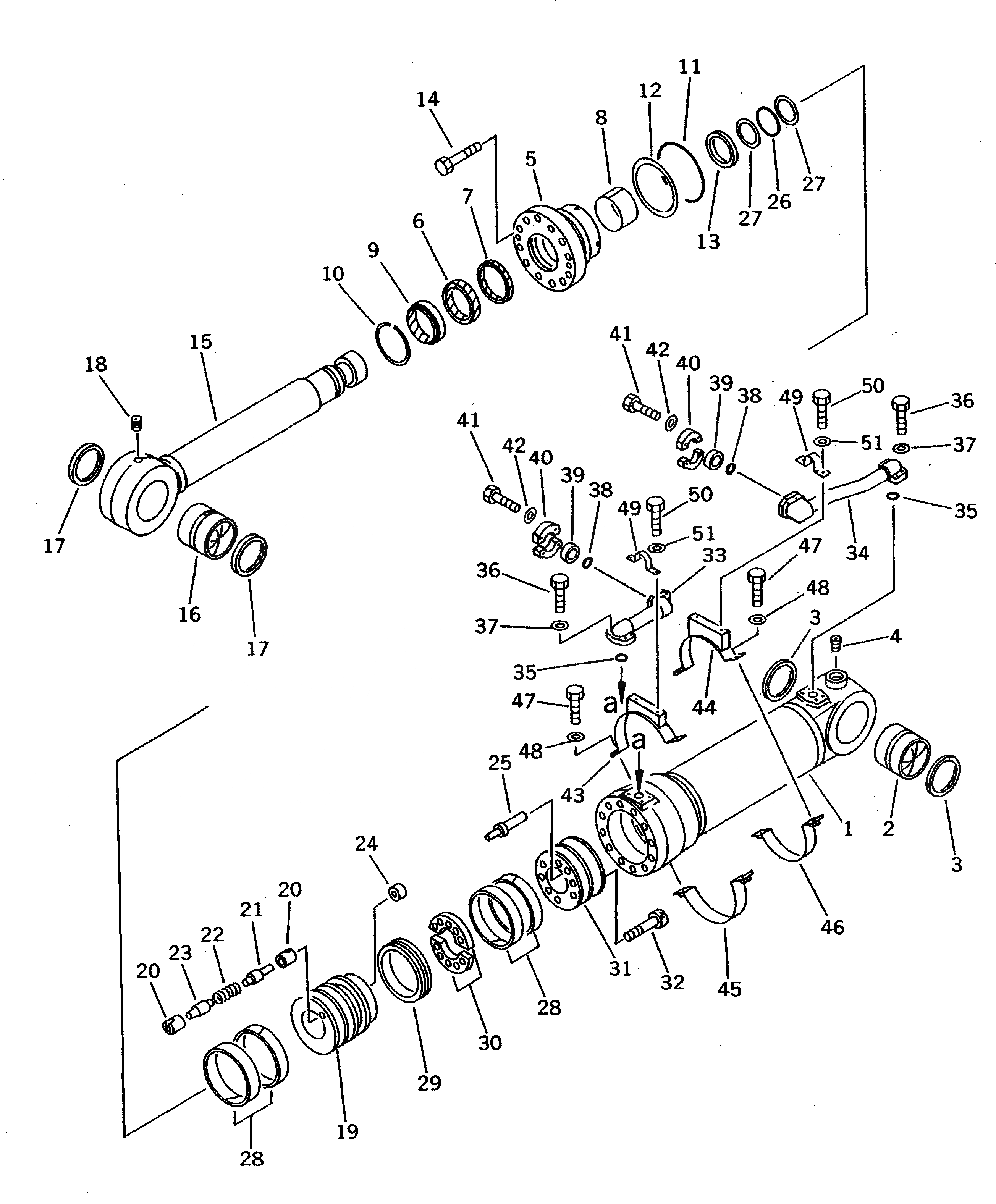
Запчасти Komatsu PC650-5 НИЖН. ГИДРОЦИЛИНДР КОВША (ДЛЯ ПОГРУЗ.) РАБОЧЕЕ ОБОРУДОВАНИЕ

Схема запчастей Komatsu PC650-5 - НИЖН. ГИДРОЦИЛИНДР КОВША (ДЛЯ ПОГРУЗ.) РАБОЧЕЕ ОБОРУДОВАНИЕ
FIT
1:1
100%

Артикул

Название

Примечание

Количество

G-1

209-63-X3061

CYLINDER GROUP,L.H.

G-1

209-63-X3071

CYLINDER GROUP,R.H.

|1

209-63-03061

CYLINDER ASS'Y

1

209-63-96540

CYLINDER

2

207-63-76170

BUSHING

3

07145-00090

SEAL,DUST (KIT)

4

07043-00108

PLUG

5

707-27-14510

HEAD,CYLINDER

6

707-51-90130

PACKING,ROD (KIT)

7

707-51-90630

RING,BUFFER (KIT)

8

707-52-90650

BUSHING

9

195-63-94170

SEAL,DUST (KIT)

10

07179-13104

RING,SNAP

11

07000-15135

O-RING (KIT)

12

07001-05135

RING,BACK-UP (KIT)

13

707-40-14910

RETAINER

14

01010-51860

BOLT

15

209-63-96520

ROD

16

707-76-90040

BUSHING

17

07145-00090

SEAL,DUST (KIT)

18

07043-00108

PLUG

|19

707-91-01430

PISTON SUB ASS'Y

19

PISTON

20

SEAT,VALVE

21

VALVE,PISTON

22

SPRING

23

VALVE,PISTON

24

COLLAR

25

707-83-11090

ROD

26

07000-12070

O-RING (KIT)

27

707-35-52910

RING,BACK-UP (KIT)

28

707-39-14820

RING,WEAR (KIT)

29

707-44-14180

RING,PISTON (KIT)

30

707-40-14970

SPACER

31

707-37-14020

PISTON

32

01252-31070

BOLT

33

209-62-53640

TUBE,L.H.

|33

209-62-53650

TUBE,R.H.

34

209-62-53620

TUBE,L.H.

|34

209-62-53630

TUBE,R.H.

35

07000-13035

O-RING (KIT)

36

01010-51060

BOLT

37

01643-31032

WASHER

38

07000-13032

O-RING

39

07378-11000

HEAD,SLEEVE

40

07371-31049

FLANGE,SPLIT

41

07372-21035

BOLT

42

01643-51032

WASHER

43

209-62-53690

BRACKET

44

209-62-53670

BRACKET

45

209-62-53680

BAND

46

209-62-53660

BAND

47

01010-51035

BOLT

48

01643-31032

WASHER

49

07282-03411

CLAMP

50

01010-51020

BOLT

51

01643-31032

WASHER

Выбрано товаров: 57