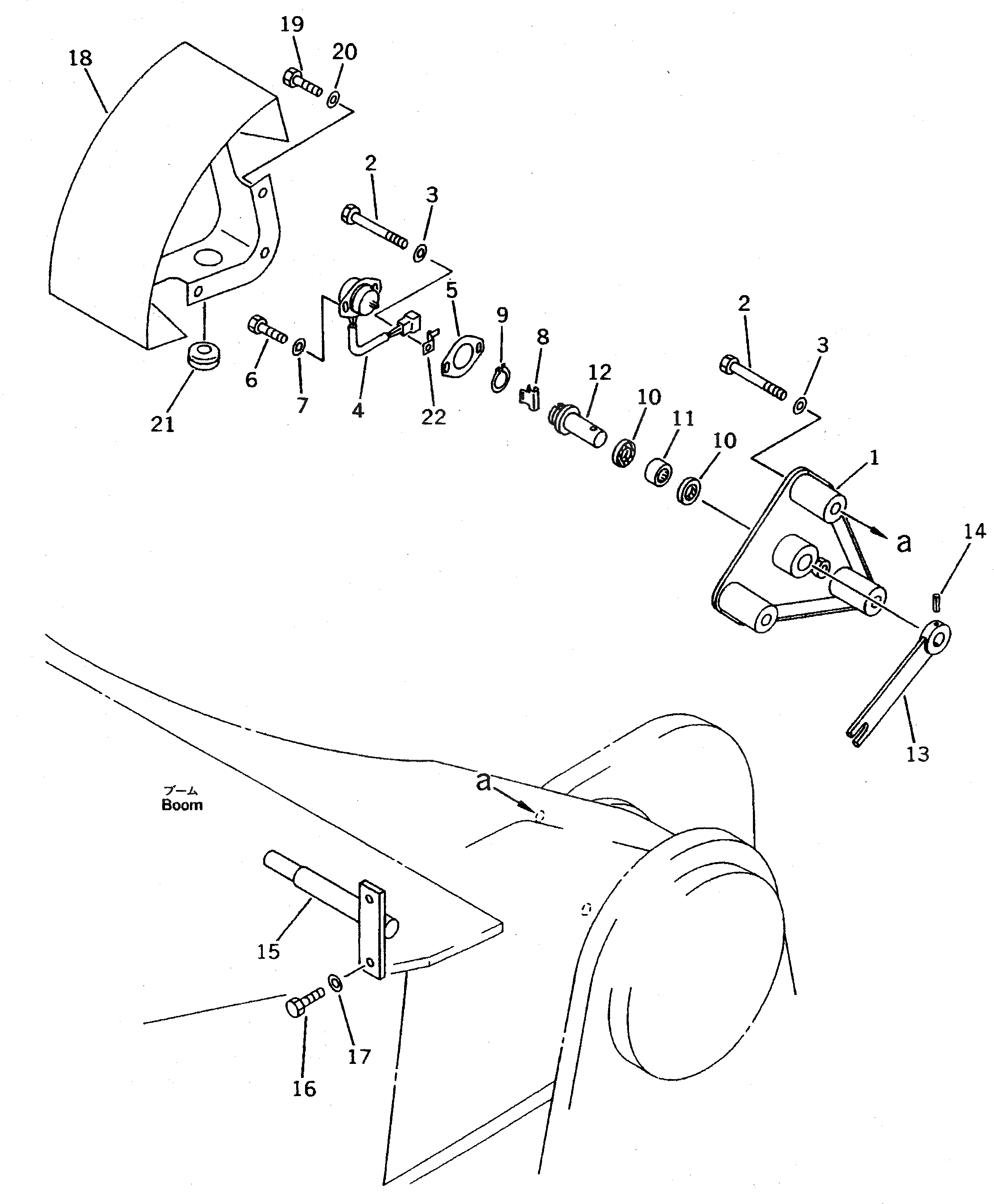
Запчасти Komatsu PC650-5 АВТОМАТИЧ. COMPENSATION (POTENTIO METER) (СТРЕЛА) (ДЛЯ ПОГРУЗ.) РАБОЧЕЕ ОБОРУДОВАНИЕ

Схема запчастей Komatsu PC650-5 - АВТОМАТИЧ. COMPENSATION (POTENTIO METER) (СТРЕЛА) (ДЛЯ ПОГРУЗ.) РАБОЧЕЕ ОБОРУДОВАНИЕ
FIT
1:1
100%

Артикул

Название

Примечание

Количество

1

209-06-51381

BRACKET

2

01011-51205

BOLT

3

01643-31232

WASHER

4

7861-92-4110

POTENTIOMETER

5

142-06-14511

GASKET

|5

142-06-14510

GASKET

6

01010-50612

BOLT

7

01643-30623

WASHER

8

142-43-13180

SPRING

9

04064-01610

RING

10

702-16-11510

SEAL

11

702-16-11490

BEARING

12

6136-71-9730

SHAFT

13

21N-06-11140

LEVER

14

04025-00432

PIN

15

21N-06-11150

SHAFT

16

01010-51230

BOLT

17

01643-31232

WASHER

18

209-06-51371

BRACKET

19

01010-51225

BOLT

20

01643-31232

WASHER

21

08037-02512

GROMMET

22

08053-01512

CLIP

Выбрано товаров: 23