Запчасти Komatsu PC650-5 ПОВОРОТН. КЛАПАН (СОЕДИНИТ. ЧАСТИ) ГИДРАВЛИКА

Схема запчастей Komatsu PC650-5 - ПОВОРОТН. КЛАПАН (СОЕДИНИТ. ЧАСТИ) ГИДРАВЛИКА
FIT
1:1
100%

Артикул

Название

Примечание

Количество

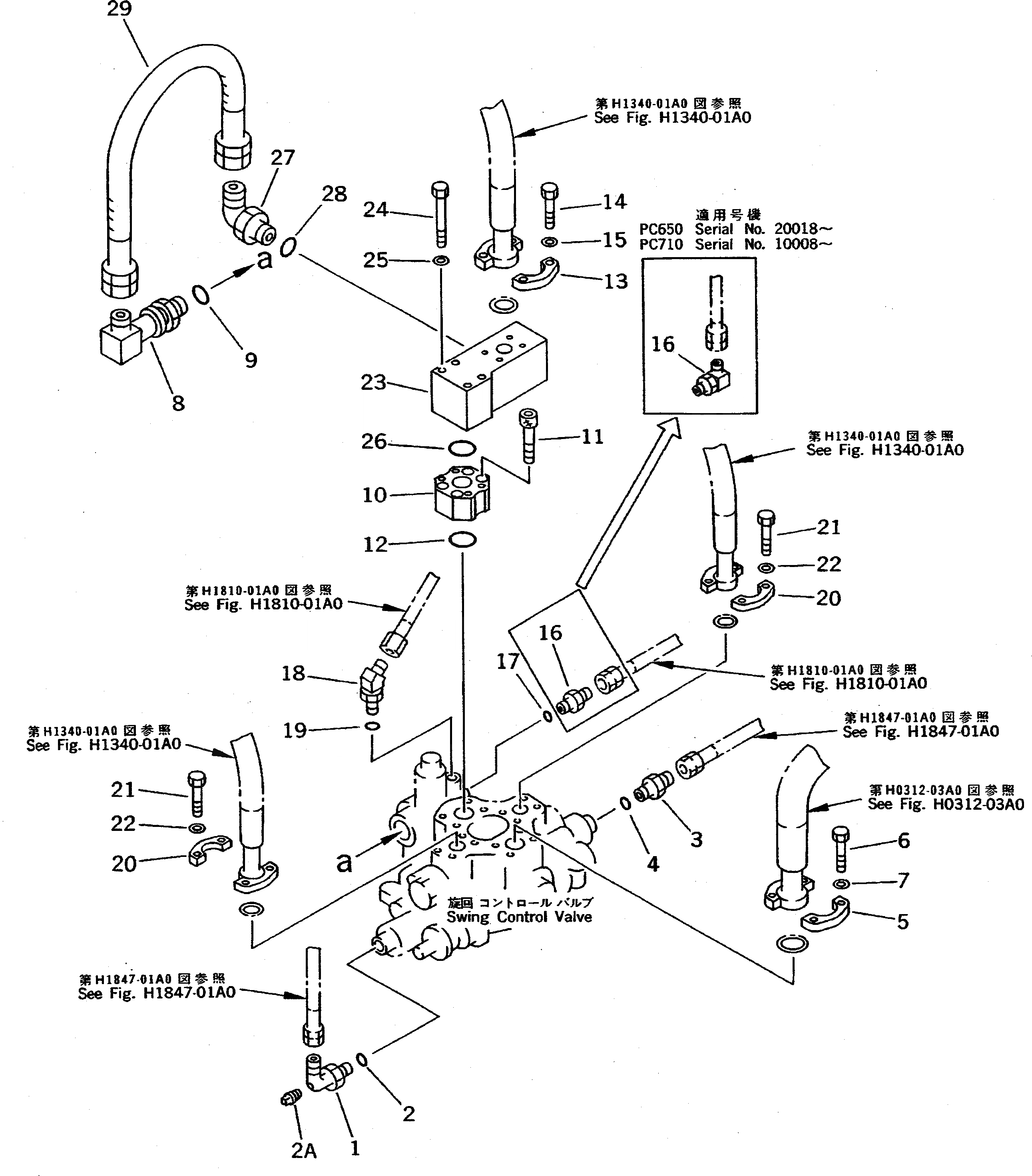
1

209-62-57920

ELBOW

2

07002-02034

O-RING

2A

07042-30108

PLUG

3

21N-62-17910

UNION

4

07002-02034

O-RING

5

07371-51260

FLANGE

6

01010-51245

BOLT

7

01643-31232

WASHER

8

205-62-67820

ELBOW

9

07002-03334

O-RING

10

209-62-56310

BLOCK

11

01252-41050

BOLT

12

07000-03038

O-RING

13

07371-31255

FLANGE

14

07372-21035

BOLT

15

01643-51032

WASHER

16

07235-10311

ELBOW

|16

207-62-33920

ELBOW

|16

205-62-55270

NIPPLE

17

07002-11423

O-RING

18

22X-61-18550

ELBOW

19

07002-11423

O-RING

20

07371-31049

FLANGE

21

07372-21035

BOLT

22

01643-51032

WASHER

23

209-62-66120

BLOCK

24

01010-51095

BOLT

25

01643-31032

WASHER

26

07000-03038

O-RING

27

07235-11034

ELBOW

28

07002-03334

O-RING

29

07102-21007

HOSE

Выбрано товаров: 32