Запчасти Komatsu PC650LC-3 СЪЕМ ПРОТИВОВЕСА КЛАПАН СИСТЕМА УПРАВЛЕНИЯ И ОСНОВНАЯ РАМА

Схема запчастей Komatsu PC650LC-3 - СЪЕМ ПРОТИВОВЕСА КЛАПАН СИСТЕМА УПРАВЛЕНИЯ И ОСНОВНАЯ РАМА
FIT
1:1
100%

Артикул

Название

Примечание

Количество

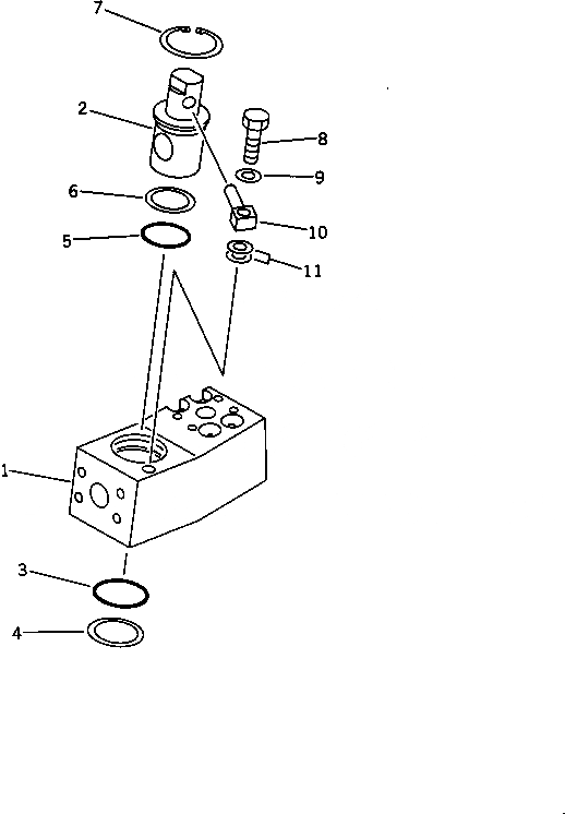
|1

209-62-52600

VALVE ASS'Y

1

209-62-52610

BLOCK

2

207-60-31720

ROTOR

3

07000-13048

O-RING

4

07001-03048

RING,BACK-UP

5

07000-13042

O-RING

6

07001-03042

RING,BACK-UP

7

04065-05220

RING,SNAP

8

01010-51240

BOLT

9

01643-31232

WASHER

10

207-60-31730

PIN

11

01643-31232

WASHER

Выбрано товаров: 12