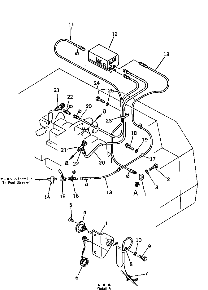
Запчасти Komatsu PC650LC-3 ПРЕДПУСК. ПОДОГРЕВ ТРУБЫ ЧАСТИ КОРПУСА

Схема запчастей Komatsu PC650LC-3 - ПРЕДПУСК. ПОДОГРЕВ ТРУБЫ ЧАСТИ КОРПУСА
FIT
1:1
100%

Артикул

Название

Примечание

Количество

G-1

209-977-X300

PARTS GROUP,COLD WEATHER

1

209-06-51910

BRACKET

2

01010-51025

BOLT

3

01643-31032

WASHER

4

209-06-12470

RECEPTACLE

5

01225-40312

SCREW

6

176-06-41270

CAP ASS'Y

7

08034-00519

BAND

8

08036-40810

CLIP

9

01010-50812

BOLT

10

01602-20825

WASHER,SPRING

11

175-98-22360

CABLE

12

175-98-22350

PRE HEATER ASS'Y

13

154-04-11370

HOSE

14

209-04-51910

TEE

15

07700-40440

VALVE

16

209-04-11280

PLUG

17

08036-01814

CLIP

18

01010-51020

BOLT

19

01643-31032

WASHER

20

175-98-22390

HOSE

21

195-911-5591

VALVE

22

175-98-22410

PLUG

23

234-885-3660

CLIP

24

01010-51020

BOLT

25

01643-31032

WASHER

Выбрано товаров: 0