Запчасти Komatsu PC650LC-3 ГИДР. БАК.(№-8) УПРАВЛ-Е РАБОЧИМ ОБОРУДОВАНИЕМ

Схема запчастей Komatsu PC650LC-3 - ГИДР. БАК.(№-8) УПРАВЛ-Е РАБОЧИМ ОБОРУДОВАНИЕМ
FIT
1:1
100%

Артикул

Название

Примечание

Количество

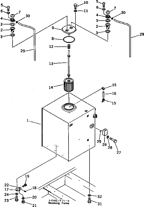
|1

209-60-00100

HYDRAULIC TANK ASS'Y

1

209-60-51111

TANK

2

205-60-51480

SCREEN

3

205-60-51460

GASKET

4

201-60-12171

FILLER NECK

5

01220-40516

SCREW

6

01601-20513

WASHER,SPRING

7

201-60-12190

CAP ASS'Y

8

07000-05230

O-RING

9

209-60-51131

COVER

10

01010-51235

BOLT

11

01643-31232

WASHER

12

12R-60-11230

SPRING

13

209-60-11131

SUPPORT

14

209-60-51120

STRAINER

15

203-60-31100

ELBOW ASS'Y

16

203-60-31160

TUBE

|17

155-60-12500

VALVE ASS'Y

17

155-60-12510

BODY

18

04025-00532

PIN

19

155-60-12520

VALVE

20

07005-02416

GASKET

21

07040-12412

PLUG

22

07000-03025

O-RING

23

01010-51025

BOLT

24

01643-31032

WASHER

25

07000-02055

O-RING

26

600-815-3210

CASE

27

01010-51075

BOLT

28

01643-31032

WASHER

29

207-60-11350

TUBE

30

07280-01110

CLAMP

31

01010-52045

BOLT

32

01643-32060

WASHER

Выбрано товаров: 34