Запчасти Komatsu PC650LC-3 ГИДР. БАК.(№8-) УПРАВЛ-Е РАБОЧИМ ОБОРУДОВАНИЕМ

Схема запчастей Komatsu PC650LC-3 - ГИДР. БАК.(№8-) УПРАВЛ-Е РАБОЧИМ ОБОРУДОВАНИЕМ
FIT
1:1
100%

Артикул

Название

Примечание

Количество

|1

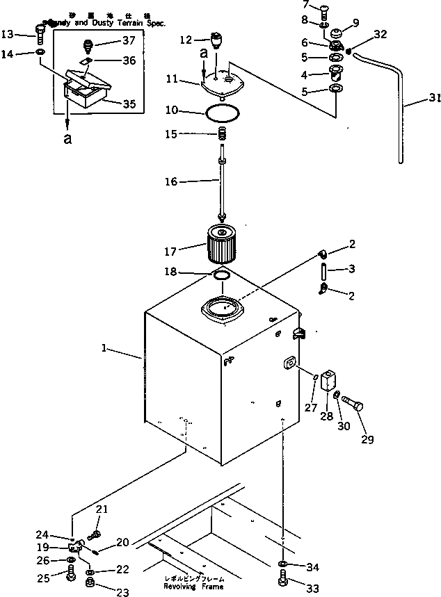
209-60-00110

HYDRAULIC TANK ASS'Y

1

TANK

2

203-60-31100

ELBOW ASS'Y

3

203-60-31160

TUBE

4

205-60-51480

SCREEN

5

205-60-51460

GASKET

6

201-60-12171

FILLER NECK

7

01220-40516

SCREW

8

01601-20513

WASHER,SPRING

9

201-60-12190

CAP ASS'Y

10

07000-05230

O-RING

11

209-60-51131

COVER

12

424-U40-1120

BREATHER,SEE FIG.6015

13

01010-51235

BOLT

14

01643-31232

WASHER

15

12R-60-11230

SPRING

16

209-60-11131

SUPPORT

17

209-60-51120

STRAINER

18

21N-09-11140

O-RING

|19

155-60-12500

VALVE ASS'Y

19

155-60-12510

BODY

20

04025-00532

PIN

21

155-60-12520

VALVE

22

07005-02416

GASKET

23

07040-12412

PLUG

24

07000-03025

O-RING

25

01010-51025

BOLT

26

01643-31032

WASHER

27

07000-02055

O-RING

28

600-815-3210

CASE

29

01010-51075

BOLT

30

01643-31032

WASHER

31

207-60-11350

TUBE

32

07280-01110

CLAMP

33

01010-52045

BOLT

34

01643-32060

WASHER

35

209-04-51320

COVER,(SANDY AND DUSTY TERRAIN S.)

36

205-60-71220

LOCK ASS'Y,(SANDY AND DUSTY TERRAIN S.)

37

205-54-76280

ROTOR ASS'Y,(SANDY AND DUSTY TERRAIN S.)

Выбрано товаров: 39