Запчасти Komatsu PC650LC-3 HUDRAULIC БАК (ДЛЯ АНТИВАНДАЛЬН.)(№8-8) УПРАВЛ-Е РАБОЧИМ ОБОРУДОВАНИЕМ

Схема запчастей Komatsu PC650LC-3 - HUDRAULIC БАК (ДЛЯ АНТИВАНДАЛЬН.)(№8-8) УПРАВЛ-Е РАБОЧИМ ОБОРУДОВАНИЕМ
FIT
1:1
100%

Артикул

Название

Примечание

Количество

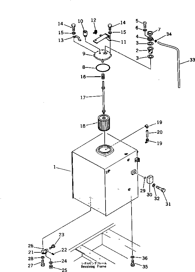
|1

209-60-00072

HYDRAULIC TANK ASS'Y

1

209-60-51111

TANK

2

205-60-51480

SCREEN

3

205-60-51460

GASKET

4

201-60-12171

FILLER NECK

5

01220-40516

SCREW

6

01601-20513

WASHER,SPRING

7

209-60-51180

CAP

|7

23S-03-11150

CAP ASS'Y

8

07000-05230

O-RING

9

209-60-51161

COVER

10

424-U40-1120

BREATHER,SEE FIG.6015

G-1

209-54-X4300

VANDALISM GROUP

11

209-60-51140

COVER

12

205-60-71220

LOCK ASS'Y

13

209-60-51150

BRACKET

14

01010-51235

BOLT

15

01643-31232

WASHER

16

12R-60-11230

SPRING

17

209-60-11131

SUPPORT

18

209-60-51120

STRAINER

19

203-60-31100

ELBOW ASS'Y

20

203-60-31160

TUBE

|21

155-60-12500

VALVE ASS'Y

21

155-60-12510

BODY

22

04025-00532

PIN

23

155-60-12520

VALVE

24

07005-02416

GASKET

25

07040-12412

PLUG

26

07000-03025

O-RING

27

01010-51025

BOLT

28

01643-31032

WASHER

29

07000-02055

O-RING

30

600-815-3210

CASE

31

01010-51075

BOLT

32

01643-31032

WASHER

33

207-60-11350

TUBE

34

07280-01110

CLAMP

35

01010-52045

BOLT

36

01643-32060

WASHER

Выбрано товаров: 40