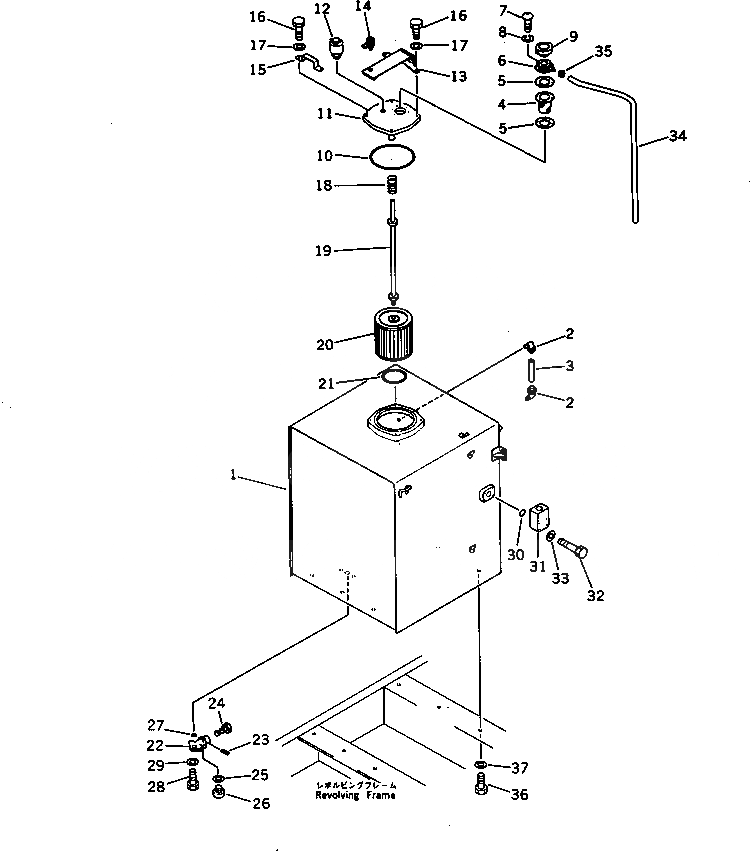
Запчасти Komatsu PC650LC-3 ГИДР. БАК. (ДЛЯ АНТИВАНДАЛЬН.)(№8-) УПРАВЛ-Е РАБОЧИМ ОБОРУДОВАНИЕМ

Схема запчастей Komatsu PC650LC-3 - ГИДР. БАК. (ДЛЯ АНТИВАНДАЛЬН.)(№8-) УПРАВЛ-Е РАБОЧИМ ОБОРУДОВАНИЕМ
FIT
1:1
100%

Артикул

Название

Примечание

Количество

|1

209-60-00110

HYDRAULIC TANK ASS'Y

1

TANK

2

203-60-31100

ELBOW ASS'Y

3

203-60-31160

TUBE

4

205-60-51480

SCREEN

5

205-60-51460

GASKET

6

201-60-12171

FILLER NECK

7

01220-40516

SCREW

8

01601-20513

WASHER,SPRING

9

209-60-51180

CAP

10

07000-05230

O-RING

11

209-60-51161

COVER

12

424-U40-1120

BREATHER,SEE FIG.6015

G-1

209-54-X4300

VANDALISM GROUP

13

209-60-51140

COVER

14

205-60-71220

LOCK ASS'Y

15

209-60-51150

BRACKET

16

01010-51235

BOLT

17

01643-31232

WASHER

18

12R-60-11230

SPRING

19

209-60-11131

SUPPORT

20

209-60-51120

STRAINER

21

21N-09-11140

O-RING

|22

155-60-12500

VALVE ASS'Y

22

155-60-12510

BODY

23

04025-00532

PIN

24

155-60-12520

VALVE

25

07005-02416

GASKET

26

07040-12412

PLUG

27

07000-03025

O-RING

28

01010-51025

BOLT

29

01643-31032

WASHER

30

07000-02055

O-RING

31

600-815-3210

CASE

32

01010-51075

BOLT

33

01643-31032

WASHER

34

207-60-11350

TUBE

35

07280-01110

CLAMP

36

01010-52045

BOLT

37

01643-32060

WASHER

Выбрано товаров: 40