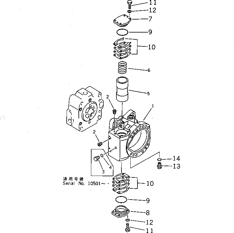
Запчасти Komatsu PC650LC-3 ГИДР. НАСОС.¤ NO. (НАСОС /) (/8) УПРАВЛ-Е РАБОЧИМ ОБОРУДОВАНИЕМ

Схема запчастей Komatsu PC650LC-3 - ГИДР. НАСОС.¤ NO. (НАСОС /) (/8) УПРАВЛ-Е РАБОЧИМ ОБОРУДОВАНИЕМ
FIT
1:1
100%

Артикул

Название

Примечание

Количество

|1

708-25-50201

HYDRAULIC PUMP ASS'Y

|1

708-25-50200

HYDRAULIC PUMP ASS'Y (HPV 90+90

|1

708-25-04180

PUMP SUB ASS'Y

|1

708-25-51201

PUMP SUB ASS'Y

|1

708-25-00100

CASE ASS'Y,REAR

1

CASE,REAR

2

PLUG

3

720-68-19870

PLUG

4

07002-01223

O-RING

5

708-25-14112

PISTON

|5

708-25-14111

PISTON

6

708-25-14130

SPRING

7

708-25-14140

CAP

8

708-25-14150

CAP

9

07000-02065

O-RING

10

708-25-05050

SHIM KIT

|10

SHIM¤ 0.1MM

|10

SHIM¤ 0.2MM

|10

SHIM¤ 0.5MM

|10

SHIM¤ 0.1MM

11

01016-51035

BOLT

|11

01016-31035

BOLT

12

01643-31032

WASHER

13

07044-12412

PLUG

14

07002-02434

O-RING

Выбрано товаров: 25