Запчасти Komatsu PC650LC-3 ВОЗВРАТ. ТРУБЫ (БЛОК - БАК) УПРАВЛ-Е РАБОЧИМ ОБОРУДОВАНИЕМ

Схема запчастей Komatsu PC650LC-3 - ВОЗВРАТ. ТРУБЫ (БЛОК - БАК) УПРАВЛ-Е РАБОЧИМ ОБОРУДОВАНИЕМ
FIT
1:1
100%

Артикул

Название

Примечание

Количество

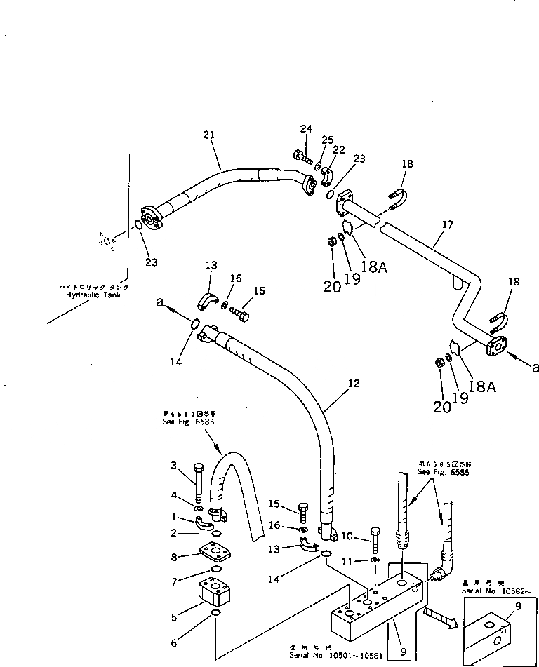
1

07371-31049

FLANGE,SPLIT

2

07000-03032

O-RING

3

205-62-51310

BOLT

4

01643-51032

WASHER

5

205-60-51200

VALVE ASS'Y

6

07000-03032

O-RING

7

07000-03035

O-RING

8

209-62-31280

FLANGE

9

209-62-51541

BLOCK

|9

209-62-51540

BLOCK

10

01010-51295

BOLT

11

01643-31232

WASHER

12

07296-01007

HOSE

13

07371-31049

FLANGE,SPLIT

14

07000-03032

O-RING

15

07372-21035

BOLT

16

01643-51032

WASHER

17

209-62-57232

TUBE

18

07283-33450

CLIP

|18

07283-33442

CLIP

18A

07283-53444

SEAT

19

01643-31032

WASHER

20

01599-01011

NUT

21

07297-01007

HOSE

22

07371-31049

FLANGE,SPLIT

23

07000-03032

O-RING

24

07372-21035

BOLT

25

01643-51032

WASHER

Выбрано товаров: 28