Запчасти Komatsu PC650LC-3 ИЗ БАКА В НАСОС ТРУБЫ (/) УПРАВЛ-Е РАБОЧИМ ОБОРУДОВАНИЕМ

Схема запчастей Komatsu PC650LC-3 - ИЗ БАКА В НАСОС ТРУБЫ (/) УПРАВЛ-Е РАБОЧИМ ОБОРУДОВАНИЕМ
FIT
1:1
100%

Артикул

Название

Примечание

Количество

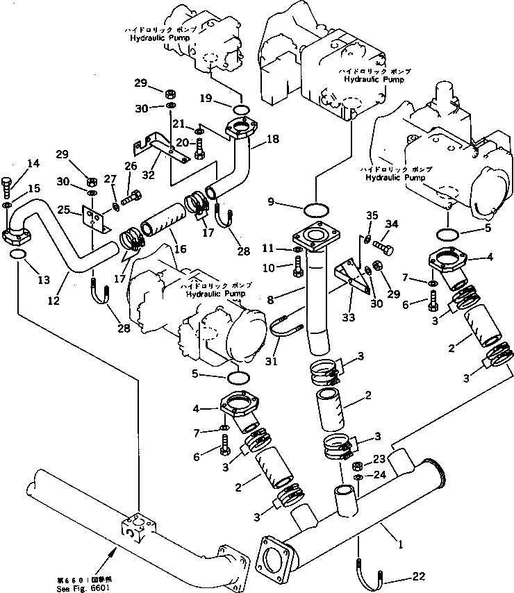
1

209-62-55241

TUBE

2

07260-27420

HOSE

3

20D-09-11130

CLAMP

4

209-62-55250

TUBE

5

07000-02085

O-RING

6

01010-51240

BOLT

7

01643-31232

WASHER

8

209-62-55311

TUBE

9

07000-02095

O-RING

10

01010-51240

BOLT

11

01643-31232

WASHER

12

209-62-55330

TUBE

13

07000-02060

O-RING

14

01010-51240

BOLT

15

01643-31232

WASHER

16

07260-25820

HOSE

17

208-09-61120

CLAMP

|17

208-09-11120

CLAMP

18

209-62-55271

TUBE

19

07000-02060

O-RING

20

01010-51240

BOLT

21

01643-31232

WASHER

22

07283-21193

CLIP

23

01599-01214

NUT

24

01643-31232

WASHER

25

209-62-55320

BRACKET

26

01010-51230

BOLT

27

175-03-32560

SPACER

28

07283-26155

CLIP

29

01599-01011

NUT

30

01643-31032

WASHER

31

07283-27671

CLIP

32

209-62-55340

BRACKET

33

21T-62-75270

BRACKET

34

01010-51230

BOLT

35

01643-31232

WASHER

Выбрано товаров: 36