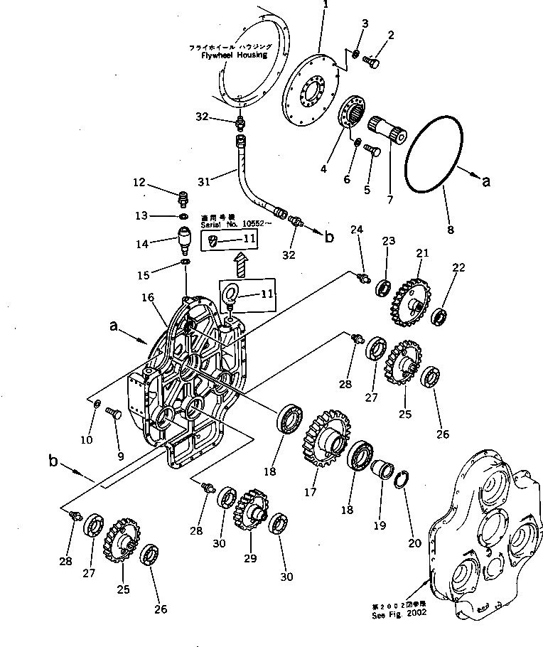
Запчасти Komatsu PC650LC-3 МЕХ-М ОТБОРА МОЩНОСТИ (/)(№-8) ПОВОРОТН. СИСТЕМА

Схема запчастей Komatsu PC650LC-3 - МЕХ-М ОТБОРА МОЩНОСТИ (/)(№-8) ПОВОРОТН. СИСТЕМА
FIT
1:1
100%

Артикул

Название

Примечание

Количество

1

209-38-51140

PLATE

2

01010-51245

BOLT

3

01643-31232

WASHER

4

209-38-51150

COUPLING

5

209-09-51120

BOLT

6

01643-31645

WASHER

7

209-38-51160

SHAFT

8

07000-35500

O-RING

9

01010-51245

BOLT

10

01643-31232

WASHER

11

07049-03645

PLUG

|11

04530-13655

BOLT,EYE

12

07030-03034

BREATHER

13

07005-03016

GASKET

14

209-38-11291

PLUG

15

07005-03016

GASKET

16

209-38-51111

CASE

17

209-38-51180

GEAR

18

06002-32024

BEARING

19

209-38-51170

SPACER

20

04065-01030

RING,SNAP

21

209-38-51221

GEAR

22

209-38-51610

BEARING

|22

06030-06213

BEARING

23

06030-06313

BEARING

24

209-38-11270

NIPPLE

25

209-38-51210

GEAR

26

209-38-51610

BEARING

|26

06030-06213

BEARING

27

06030-06313

BEARING

28

209-38-11270

NIPPLE

29

209-38-51190

GEAR

30

06030-06313

BEARING

31

07102-20403

HOSE

|31

07102-20303

HOSE

32

15R-911-3190

NIPPLE

|32

207-62-12430

NIPPLE

Выбрано товаров: 37