Запчасти Komatsu PC650LC-3 РАДИАТОР И МАСЛООХЛАДИТЕЛЬ КОМПОНЕНТЫ ДВИГАТЕЛЯ И ЭЛЕКТРИКА

Схема запчастей Komatsu PC650LC-3 - РАДИАТОР И МАСЛООХЛАДИТЕЛЬ КОМПОНЕНТЫ ДВИГАТЕЛЯ И ЭЛЕКТРИКА
FIT
1:1
100%

Артикул

Название

Примечание

Количество

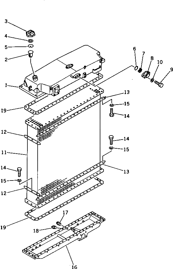
|1

209-03-00080

RADIATOR ASS'Y

|1

209-03-00090

UPPER TANK ASS'Y

1

209-03-11282

TANK,UPPER

2

07056-00048

STRAINER

3

07053-10000

CAP

4

07053-00002

GASKET

5

07057-03271

RING,SNAP

6

07000-03045

O-RING

7

175-03-32570

SCREEN

8

154-03-11682

VALVE,PRESSURE

9

01010-51025

BOLT

10

01643-31032

WASHER

11

195-03-22131

CORE

12

195-03-11143

PLATE

13

195-03-22260

PLATE

14

01010-51030

BOLT

15

01602-21030

WASHER,SPRING

16

195-03-22120

TANK,LOWER

17

07042-30415

PLUG

18

07042-30108

PLUG

19

195-03-22430

GASKET

Выбрано товаров: 21