Запчасти Komatsu PC650LC-3 КОВШ¤ .M¤ ШИР. 9MM(№9-) РАБОЧЕЕ ОБОРУДОВАНИЕ (ЭКСКАВАТ.)

Схема запчастей Komatsu PC650LC-3 - КОВШ¤ .M¤ ШИР. 9MM(№9-) РАБОЧЕЕ ОБОРУДОВАНИЕ (ЭКСКАВАТ.)
FIT
1:1
100%

Артикул

Название

Примечание

Количество

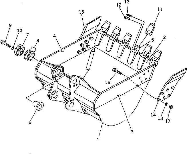
G-1

209-920-X221

BUCKET GROUP

1

209-920-5221

BUCKET

2

209-920-5320

PLATE (WELDED)

3

209-70-54121

PLATE (WELDED)

4

209-70-54131

PLATE (WELDED)

5

209-944-1220

ADAPTER (WELDED)

6

209-70-54160

BUSHING

7

209-70-54171

COVER

8

209-70-00082

SHIM ASS'Y

|8

SHIM¤ 0.5MM

|8

SHIM¤ 1.0MM

9

01010-82480

BOLT

10

01643-32460

WASHER

11

209-72-14150

POINT

12

209-72-14160

PIN

13

209-72-14170

LOCK

G-2

209-70-X4200

SIDE CUTTER GROUP

14

209-70-14181

CUTTER,L.H.

15

209-70-14191

CUTTER,R.H.

16

209-70-14210

BOLT

17

21T-32-11320

NUT

18

01643-33380

WASHER

Выбрано товаров: 22