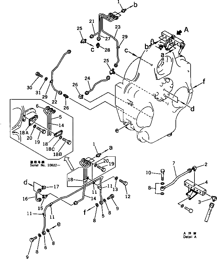
Запчасти Komatsu PC650LC-3 МЕХ-М ОТБОРА МОЩНОСТИ ТРУБЫ (/)(№8-8) ПОВОРОТН. СИСТЕМА

Схема запчастей Komatsu PC650LC-3 - МЕХ-М ОТБОРА МОЩНОСТИ ТРУБЫ (/)(№8-8) ПОВОРОТН. СИСТЕМА
FIT
1:1
100%

Артикул

Название

Примечание

Количество

1

07213-50710

CONNECTOR

2

176-43-41350

ELBOW

3

144-04-51130

ELBOW

4

209-38-51291

BLOCK

5

209-38-51342

TUBE

|5

209-38-51341

TUBE

6

209-38-51312

TUBE

|6

209-38-51311

TUBE

7

209-38-51351

TUBE

8

07005-01012

GASKET

9

07206-30710

BOLT,JOINT

10

209-38-51441

BOLT,JOINT

11

21T-38-12270

CLIP

12

01010-51020

BOLT

13

01643-31032

WASHER

14

209-38-51323

TUBE

|14

209-38-51322

TUBE

15

209-38-12290

TEE

16

209-38-51330

TUBE

17

176-43-41350

ELBOW

18

6144-73-5510

CLAMP

|18

209-38-12260

CLIP

18A

21T-38-71290

CLAMP

18B

01010-51035

BOLT

18C

01643-31032

WASHER

19

01010-51020

BOLT

20

01643-31032

WASHER

21

209-38-51411

TUBE

22

209-38-51420

TUBE

23

209-38-51361

TUBE

24

209-38-51370

TUBE

25

209-38-51460

TEE

26

176-43-41350

ELBOW

27

209-38-51381

TUBE

28

07213-50710

CONNECTOR

29

21T-38-12270

CLIP

30

01010-51020

BOLT

31

01643-31032

WASHER

Выбрано товаров: 38