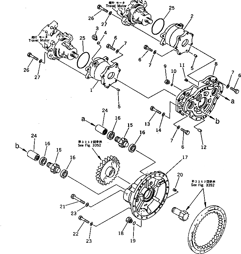
Запчасти Komatsu PC650LC-3 КОРПУС КОНЕЧН. ПЕРЕДАЧИ И ЗВЕЗДОЧКА (/) (ДЛЯ ЯПОН.)(№-) ХОДОВАЯ

Схема запчастей Komatsu PC650LC-3 - КОРПУС КОНЕЧН. ПЕРЕДАЧИ И ЗВЕЗДОЧКА (/) (ДЛЯ ЯПОН.)(№-) ХОДОВАЯ
FIT
1:1
100%

Артикул

Название

Примечание

Количество

|1

209-27-00110

FINAL DRIVE ASS'Y

1

209-27-51480

CASE,L.H. FRONT AND R.H. REAR

2

209-27-51490

CASE,R.H. FRONT AND L.H. REAR

3

07040-13618

PLUG

4

07002-03634

O-RING

5

04020-01228

PIN,DOWEL

6

01010-51650

BOLT

7

01643-31645

WASHER

8

209-27-51113

CASE

9

07040-11007

PLUG

10

07002-01023

O-RING

11

07049-01620

PLUG

12

04020-01638

PIN,DOWEL

13

01010-51660

BOLT

14

01643-31645

WASHER

15

209-27-51540

SHAFT

16

06044-00209

BEARING,ROLLER

17

209-27-51131

CASE

18

07044-13620

PLUG

19

07002-03634

O-RING

20

07049-01620

PLUG

21

01011-51630

BOLT

22

01010-51680

BOLT

23

01643-31645

WASHER

24

209-27-51180

COUPLING

25

07000-05240

O-RING

26

01010-52485

BOLT

27

01643-32460

WASHER

Выбрано товаров: 28