Запчасти Komatsu PC650LC-3 ОСНОВНАЯ РАМА (С FOPS) (ДЛЯ НИЗ. КАБИНА)(№-8) СИСТЕМА УПРАВЛЕНИЯ И ОСНОВНАЯ РАМА

Схема запчастей Komatsu PC650LC-3 - ОСНОВНАЯ РАМА (С FOPS) (ДЛЯ НИЗ. КАБИНА)(№-8) СИСТЕМА УПРАВЛЕНИЯ И ОСНОВНАЯ РАМА
FIT
1:1
100%

Артикул

Название

Примечание

Количество

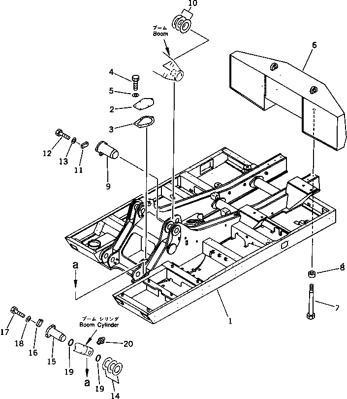
G-1

209-956-X100

FOPS GROUP

1

209-46-51211

FRAME,REVOLVING

2

209-46-12230

COVER

3

209-46-12240

GASKET

4

01010-51225

BOLT

5

01643-31232

WASHER

6

209-46-51180

WEIGHT

7

209-46-51190

BOLT

8

209-46-11210

SPACER

9

209-72-11171

PIN

9

209-72-11170

PIN

10

209-72-00010

SHIM ASS'Y

10

SHIM, 1.0MM

10

SHIM, 1.5MM

11

207-70-31230

PLATE

11

207-70-11230

PLATE

12

01010-51640

BOLT

13

01643-31645

WASHER

14

209-72-00030

SHIM ASS'Y

14

SHIM, 1.0MM

14

SHIM, 1.5MM

15

209-72-51160

PIN

16

207-70-11230

PLATE

17

01010-51640

BOLT

18

01643-31645

WASHER

19

07000-12130

O-RING

20

07020-00000

FITTING,GREASE

Выбрано товаров: 27