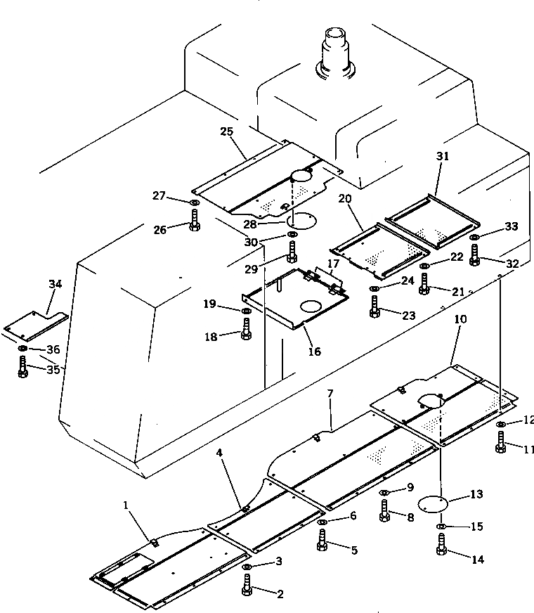
Запчасти Komatsu PC650LC-3 НИЖН. КРЫШКА (ДЛЯ НАСОС СМАЗКИ) ЧАСТИ КОРПУСА

Схема запчастей Komatsu PC650LC-3 - НИЖН. КРЫШКА (ДЛЯ НАСОС СМАЗКИ) ЧАСТИ КОРПУСА
FIT
1:1
100%

Артикул

Название

Примечание

Количество

1

209-54-53911

COVER

2

01010-51230

BOLT

3

175-54-34170

WASHER

3

01643-31232

WASHER

4

209-54-53920

COVER

5

01010-51230

BOLT

6

175-54-34170

WASHER

6

01643-31232

WASHER

7

209-54-53930

COVER

8

01010-51230

BOLT

9

175-54-34170

WASHER

9

01643-31232

WASHER

10

209-54-53940

COVER

11

01010-51230

BOLT

12

175-54-34170

WASHER

12

01643-31232

WASHER

13

208-54-12710

COVER

14

01010-51230

BOLT

15

01643-31232

WASHER

16

209-54-53951

COVER

17

209-54-53980

HINGE (WELDED)

18

01010-51230

BOLT

19

175-54-34170

WASHER

19

01643-31232

WASHER

20

209-54-53961

COVER

21

01010-51230

BOLT

22

175-54-34170

WASHER

22

01643-31232

WASHER

23

01010-51230

BOLT

24

175-54-34170

WASHER

24

01643-31232

WASHER

25

209-54-53970

COVER

26

01010-51230

BOLT

27

175-54-34170

WASHER

27

01643-31232

WASHER

28

208-54-12710

COVER

29

01010-51230

BOLT

30

01643-31232

WASHER

31

209-54-53990

COVER

32

01010-51230

BOLT

33

175-54-34170

WASHER

33

01643-31232

WASHER

34

209-54-53750

COVER

35

01010-51225

BOLT

36

175-54-34170

WASHER

Выбрано товаров: 45