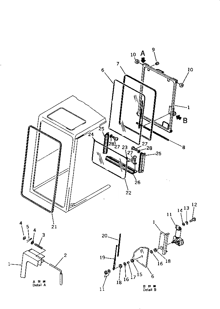
Запчасти Komatsu PC650LC-3 НИЖН. КРЕПЛЕНИЕ КАБИНА (ЗАДН. ОКНА ЖЕСТК.) (/) (ДЛЯ NORWAY) ЧАСТИ КОРПУСА

Схема запчастей Komatsu PC650LC-3 - НИЖН. КРЕПЛЕНИЕ КАБИНА (ЗАДН. ОКНА ЖЕСТК.) (/)     (ДЛЯ NORWAY) ЧАСТИ КОРПУСА
FIT
1:1
100%

Артикул

Название

Примечание

Количество

|$0

209-54-00151

OPERATOR'S CAB ASS'Y

|$1

209-54-00150

OPERATOR'S CAB ASS'Y

1

209-54-51630

WINDOW,FRONT

2

205-54-72650

PIN

3

205-54-66330

SPRING

4

01641-21016

WASHER

5

04050-13018

PIN,COTTER

6

205-54-71211

GLASS

7

205-54-71520

STRIP,WEATHER

8

205-54-71621

SEAL

9

07049-00811

PLUG

10

205-54-72590

ROLLER

11

205-06-71410

WIPER MOTOR ASS'Y

12

01220-40516

SCREW

13

01601-20513

WASHER,SPRING

14

01641-20508

WASHER

15

205-06-62230

GROMMET

16

205-06-62270

WASHER

17

205-06-62240

COLLAR

18

205-06-62250

NUT

19

205-06-71420

ARM

19A

ND857199-0100

PIN KIT

20

205-06-62570

BLADE

21

205-54-71510

TRIM

22

205-54-76310

GLASS ASS'Y

23

205-54-72721

SEAL,L.H.

24

205-54-72731

SEAL,R.H.

25

205-54-73370

BRACKET

26

205-54-72623

BRACKET

27

01220-40616

SCREW

28

01643-30623

WASHER

Выбрано товаров: 31